ГОСТ Р ИСО 5353-2012 Машины землеройные, тракторы и машины для сельского и лесного хозяйства. Контрольная точка сиденья
ГОСТ Р ИСО
Скачать ГОСТ в PDF или DOC бесплатно
Основная информация
Обозначение:
ГОСТ Р ИСО 5353-2012
Статус:
Действует
Тип:
ГОСТ Р ИСО
Название русское:
Машины землеройные, тракторы и машины для сельского и лесного хозяйства. Контрольная точка сиденья
Название английское:
Earth-moving machinery and tractors and machinery for agriculture and forestry. Seat index point
Даты и сроки
Дата издания:
04-01-14
Дата введения в действие:
01-01-14
Дата завершения срока действия:
-
Применение и описание
Область и условия применения:
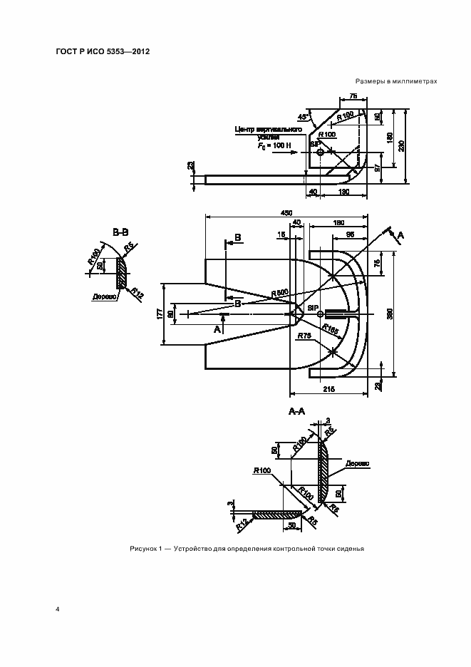
Настоящий стандарт устанавливает метод и средства определения положения контрольной точки сиденья для любого типа сидений, предназначенных для землеройных машин в соответствии с ИСО 6165, а также для тракторов и машин для сельского и лесного хозяйства в соответствии с ИСО 3339-0. Настоящий стандарт устанавливает единообразный метод определения положения точки SIP относительно фиксированной точки на сиденье
Связи и замены
Заменяющий:
-
Описание стандарта
ГОСТ Р ИСО 5353-2012 Машины землеройные, тракторы и машины для сельского и лесного хозяйства. Контрольная точка сиденья
Страницы стандарта










