ГОСТ 19596-87 Лопаты. Технические условия
ГОСТ
Скачать ГОСТ в PDF или DOC бесплатно
Основная информация
Обозначение:
ГОСТ 19596-87
Статус:
Действует
Тип:
ГОСТ
Название русское:
Лопаты. Технические условия
Название английское:
Shovels. Specifications
Даты и сроки
Дата издания:
09-30-87
Дата введения в действие:
01-01-89
Дата завершения срока действия:
-
Применение и описание
Область и условия применения:
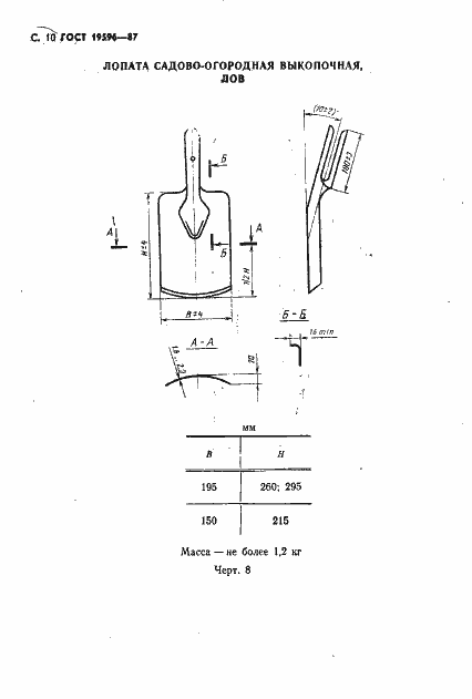
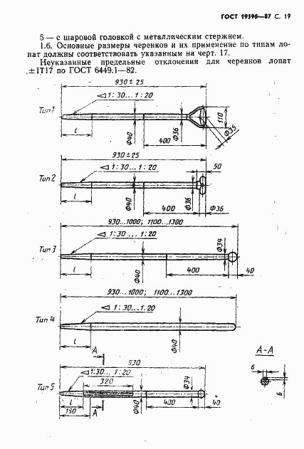
Настоящий стандарт распространяется на лопаты, предназначенные для производства строительных, садово-огородных и погрузочно-разгрузочных работ
Связи и замены
Заменяющий:
-
Взамен:
ГОСТ 3620-76;ГОСТ 19596-74
Изменения и переиздания
Список изменений:
№1 от (рег. ) «Срок действия продлен»
Описание стандарта
ГОСТ 19596-87 Лопаты. Технические условия
Страницы стандарта
































