ГОСТ 9533-81 Кельмы, лопатки и отрезовки. Технические условия
ГОСТ
Скачать ГОСТ в PDF или DOC бесплатно
Основная информация
Обозначение:
ГОСТ 9533-81
Статус:
Отменен
Тип:
ГОСТ
Название русское:
Кельмы, лопатки и отрезовки. Технические условия
Название английское:
Trowels, tuck pointing tools. Specifications
Даты и сроки
Дата издания:
06-01-99
Дата введения в действие:
01-01-82
Дата завершения срока действия:
03-01-20
Применение и описание
Область и условия применения:
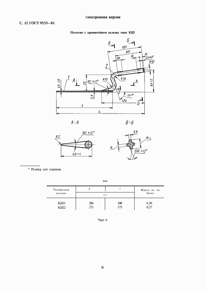
Настоящий стандарт распространяется на кельмы, лопатки и отрезовки, применяемые при производстве бетонных, каменных, штукатурных, плиточных и других видов отделочных работ
Связи и замены
Заменяющий:
-
Взамен:
ГОСТ 9533-71
Описание стандарта
ГОСТ 9533-81 Кельмы, лопатки и отрезовки. Технические условия
Страницы стандарта

















