ГОСТ 25010-81 Соколы для штукатурных работ. Технические условия
ГОСТ
Скачать ГОСТ в PDF или DOC бесплатно
Основная информация
Обозначение:
ГОСТ 25010-81
Статус:
Утратил силу в РФ
Тип:
ГОСТ
Название русское:
Соколы для штукатурных работ. Технические условия
Название английское:
Howks for plastering. Specifications
Даты и сроки
Дата издания:
02-16-94
Дата введения в действие:
01-01-83
Дата завершения срока действия:
07-01-95
Связи и замены
Заменяющий:
-
Изменения и переиздания
Список изменений:
№0 от (рег. ) «Поправка к изменению»
Описание стандарта
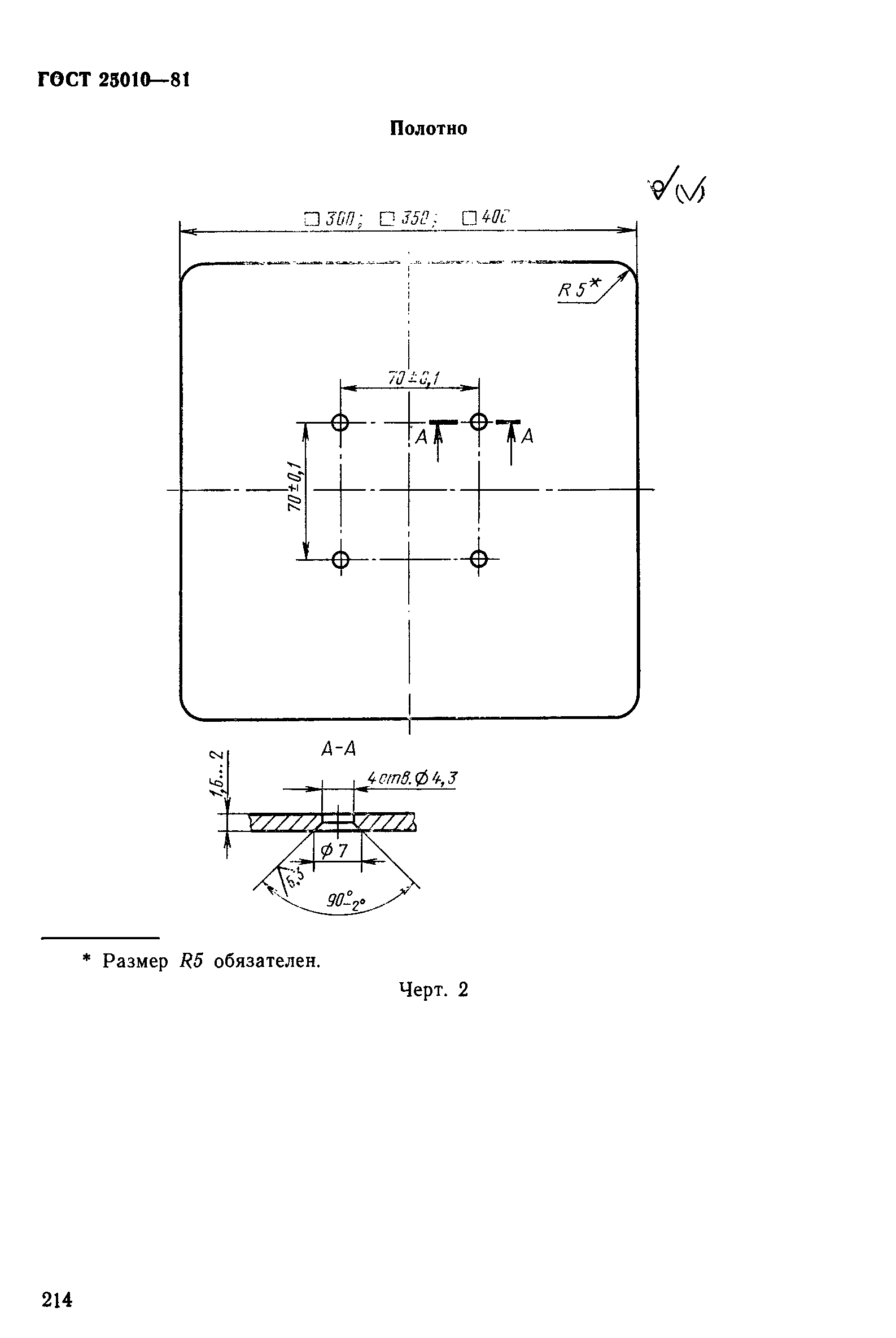
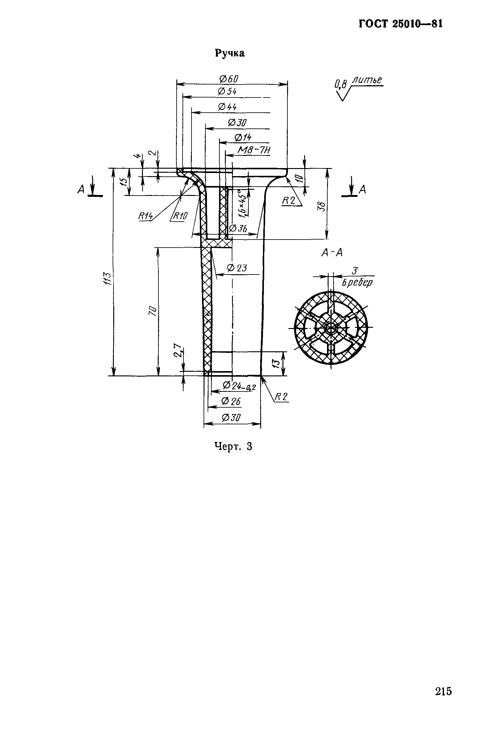
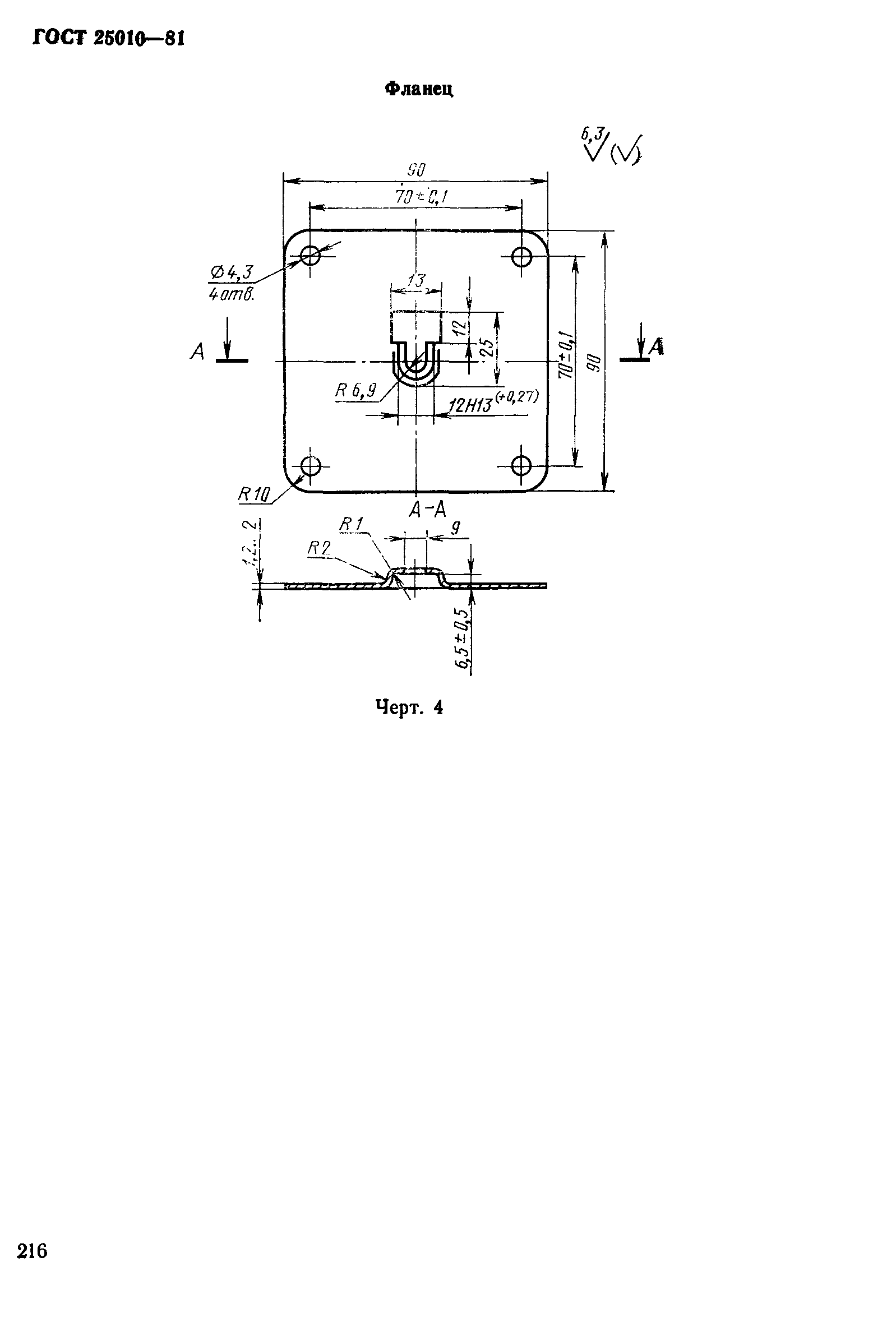
ГОСТ 25010-81 Соколы для штукатурных работ. Технические условия
Страницы стандарта












