ГОСТ 18679-73 Ушки для пломбирования. Конструкция и размеры
ГОСТ
Скачать ГОСТ в PDF или DOC бесплатно
Основная информация
Обозначение:
ГОСТ 18679-73
Статус:
Действует
Тип:
ГОСТ
Название русское:
Ушки для пломбирования. Конструкция и размеры
Название английское:
Ears for sealing. Design and dimensions
Даты и сроки
Дата издания:
12-01-91
Дата введения в действие:
01-01-74
Дата завершения срока действия:
-
Применение и описание
Область и условия применения:
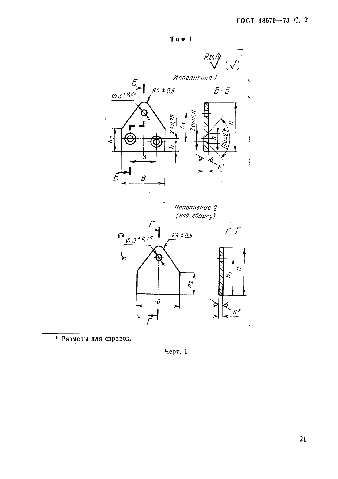
Настоящий стандарт распространяется на ушки, предназначенные для пломбирования деревянной и металлической тары и других изделий
Связи и замены
Заменяющий:
-
Изменения и переиздания
Список изменений:
№1 от (рег. ) «Срок действия продлен» №2 от (рег. ) «Срок действия продлен» №3 от (рег. ) «Срок действия продлен» №4 от (рег. ) «Срок действия продлен» №5 от (рег. ) «Текстовое изменение; Изменены ссылочные НД»
Описание стандарта
ГОСТ 18679-73 Ушки для пломбирования. Конструкция и размеры
Страницы стандарта










Приложение №5: Изменение №5 к ГОСТ 18679-73 Обозначение: Изменение №5 к ГОСТ 18679-73 Дата введения в действие: 01.01.2002

Приложение №5: Изменение №5 к ГОСТ 18679-73 Обозначение: Изменение №5 к ГОСТ 18679-73 Дата введения в действие: 01.01.2002
