ГОСТ 25749-83 Крышки металлические для стеклянной тары с венчиком горловины типа III. Технические условия
ГОСТ
Скачать ГОСТ в PDF или DOC бесплатно
Основная информация
Обозначение:
ГОСТ 25749-83
Статус:
Заменен
Тип:
ГОСТ
Название русское:
Крышки металлические для стеклянной тары с венчиком горловины типа III. Технические условия
Название английское:
Metal cap for glass package with neck crown - type 3. Specifications
Даты и сроки
Дата издания:
06-30-83
Дата введения в действие:
06-30-84
Дата завершения срока действия:
07-01-06
Применение и описание
Область и условия применения:
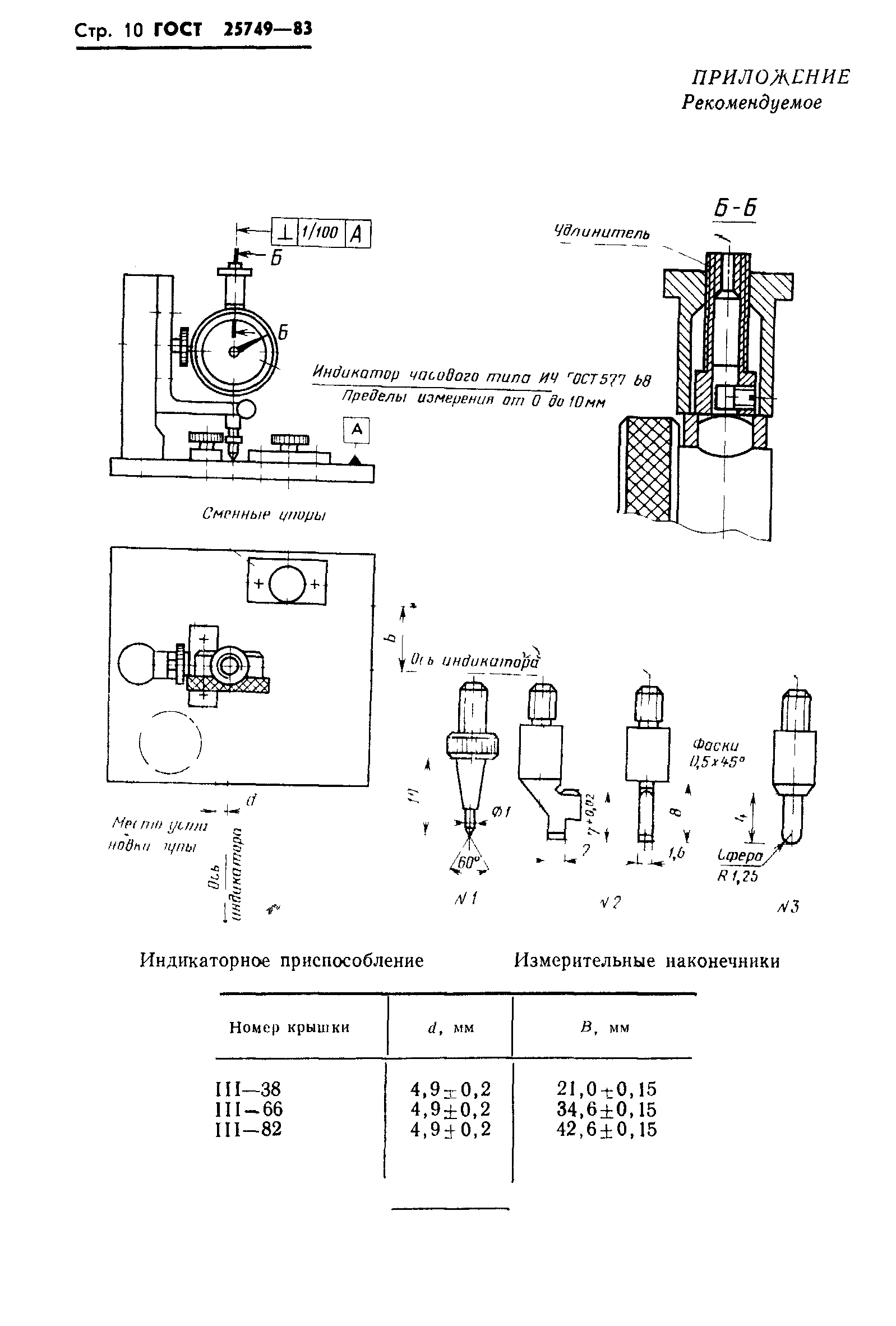
Настоящий стандарт распространяется на металлические крышки для укупоривания стеклянных банок с венчиком горловины типа III по ГОСТ 5717-81 и стеклянных бутылок по нормативно-технической документации, предназначенных для стерилизуемой и пастеризуемой продукции
Связи и замены
Заменяющий:
ГОСТ 25749-2005
Изменения и переиздания
Список изменений:
№1 от (рег. ) «Срок действия продлен» №2 от (рег. ) «Срок действия продлен»
Описание стандарта
ГОСТ 25749-83 Крышки металлические для стеклянной тары с венчиком горловины типа III. Технические условия
Страницы стандарта















