ГОСТ 5717.2-2003 Банки стеклянные для консервов. Основные параметры и размеры
ГОСТ
Скачать ГОСТ в PDF или DOC бесплатно
Основная информация
Обозначение:
ГОСТ 5717.2-2003
Статус:
Действует
Тип:
ГОСТ
Название русское:
Банки стеклянные для консервов. Основные параметры и размеры
Название английское:
Glass jars canned food. Basic parameters and dimensions
Даты и сроки
Дата регистрации:
05-22-03
Дата издания:
11-01-06
Дата введения в действие:
07-01-04
Дата завершения срока действия:
-
Применение и описание
Область и условия применения:
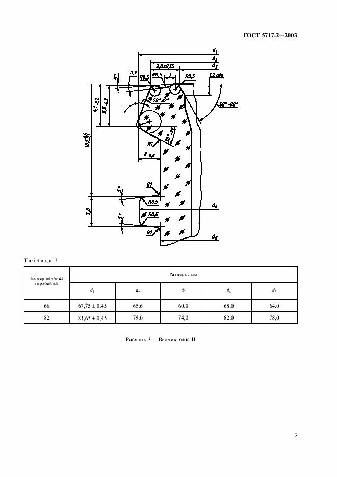
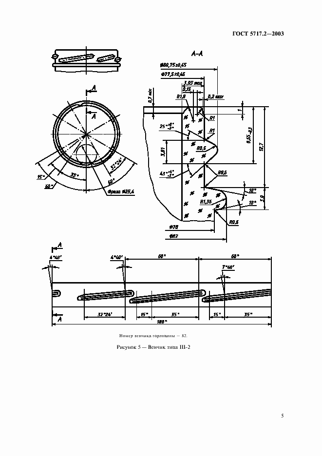
Настоящий стандарт распространяется на стеклянные банки круглой формы для консервов и устанавливает их основные параметры и размеры
Связи и замены
Заменяющий:
-
Взамен в части:
ГОСТ 5717-91 в части разд. 1
Описание стандарта
ГОСТ 5717.2-2003 Банки стеклянные для консервов. Основные параметры и размеры
Страницы стандарта













