ГОСТ 32130-2013 Банки стеклянные для пищевых продуктов рыбной промышленности. Технические условия
ГОСТ
Скачать ГОСТ в PDF или DOC бесплатно
Основная информация
Обозначение:
ГОСТ 32130-2013
Статус:
Заменен
Тип:
ГОСТ
Название русское:
Банки стеклянные для пищевых продуктов рыбной промышленности. Технические условия
Название английское:
Glass jars for food products of fishing industry. Specifications
Даты и сроки
Дата регистрации:
03-25-13
Дата издания:
04-02-19
Дата введения в действие:
01-01-14
Дата завершения срока действия:
06-01-23
Применение и описание
Область и условия применения:
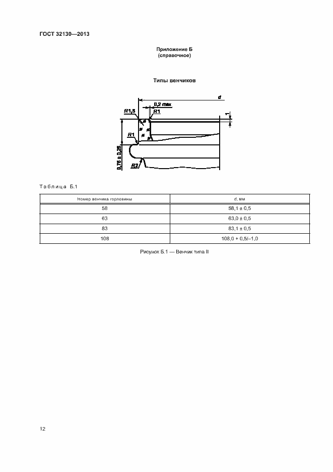
Настоящий стандарт распространяется на стеклянные банки, используемые в рыбной промышленности для упаковывания консервов, пресервов, икры, а также других продуктов рыбной промышленности. Стандарт устанавливает основные параметры и размеры банок, технические требования к качеству, правила приемки, методы контроля качества, требования к упаковке, маркировке, транспортированию, хранению и условиям эксплуатации
Связи и замены
Заменяющий:
ГОСТ 32130-2022
Изменения и переиздания
Список изменений:
№0 от (рег. ) «Дата введения перенесена»
Описание стандарта
ГОСТ 32130-2013 Банки стеклянные для пищевых продуктов рыбной промышленности. Технические условия
Страницы стандарта


















Приложение №1: Поправка к ГОСТ 32130-2013 Обозначение: Поправка к ГОСТ 32130-2013 Дата введения в действие: 26.05.2016
