ГОСТ 26586-85 Бутылки стеклянные для пищевых жидкостей, поставляемых для экспорта. Технические условия
ГОСТ
Скачать ГОСТ в PDF или DOC бесплатно
Основная информация
Обозначение:
ГОСТ 26586-85
Статус:
Заменен
Тип:
ГОСТ
Название русское:
Бутылки стеклянные для пищевых жидкостей, поставляемых для экспорта. Технические условия
Название английское:
Glass bottles for food liquids supplied for export. Specifications
Даты и сроки
Дата издания:
10-10-85
Дата введения в действие:
01-01-87
Дата завершения срока действия:
01-01-03
Применение и описание
Область и условия применения:
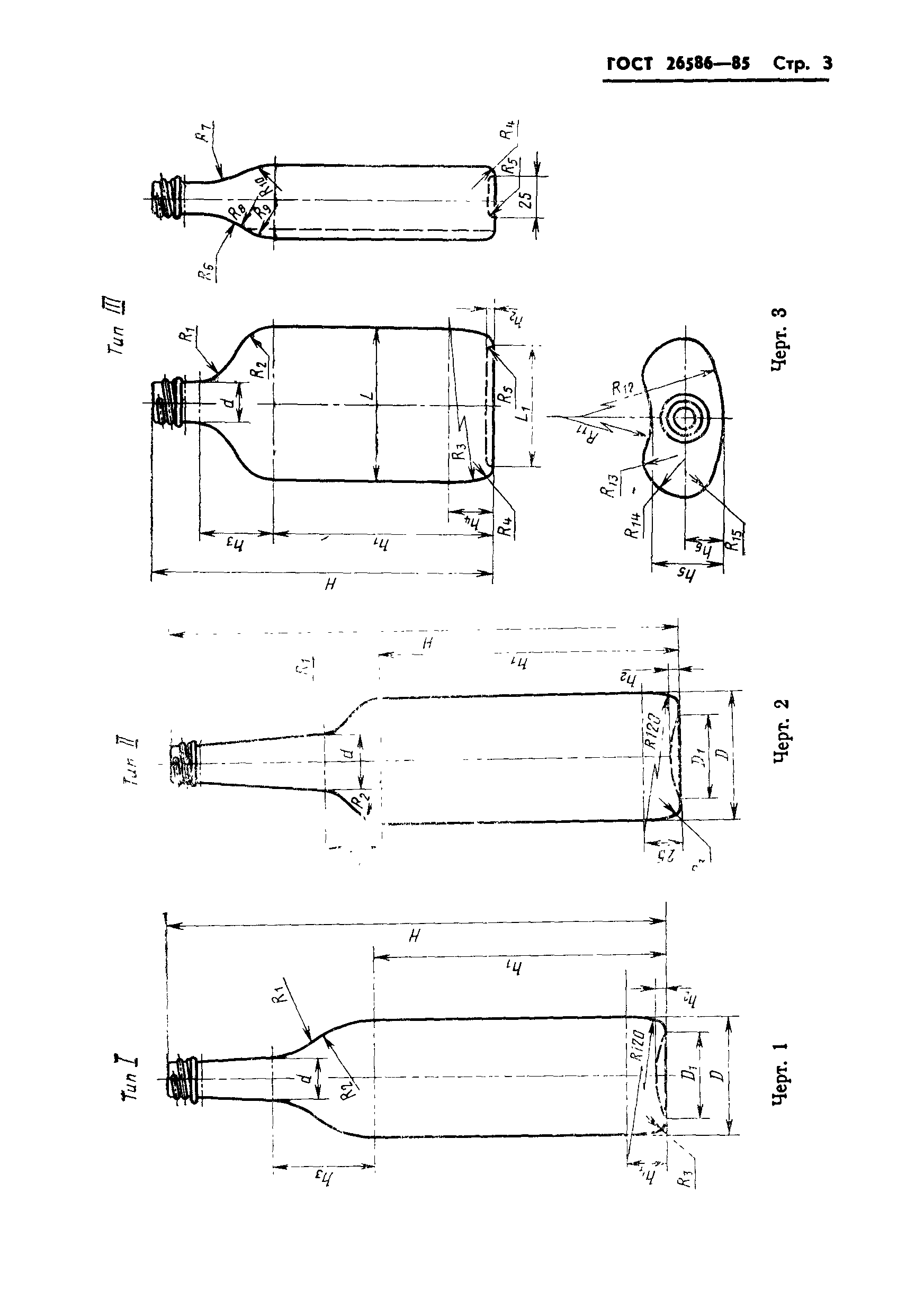
Настоящий стандарт распространяется на стеклянные бутылки, предназначенные для пищевых жидкостей, поставляемых на экспорт
Связи и замены
Заменяющий:
ГОСТ 10117.1-2001 в части разд. 2 - 5; ГОСТ 10117.2-2001 в части разд. 1
Заменяющий в части:
ГОСТ 10117.1-2001 в части разд. 2 - 5; ГОСТ 10117.2-2001 в части разд. 1
Изменения и переиздания
Список изменений:
№1 от (рег. ) «Срок действия продлен»
Описание стандарта
ГОСТ 26586-85 Бутылки стеклянные для пищевых жидкостей, поставляемых для экспорта. Технические условия
Страницы стандарта





















