ГОСТ 5717-91 Банки стеклянные для консервов. Технические условия
ГОСТ
Скачать ГОСТ в PDF или DOC бесплатно
Основная информация
Обозначение:
ГОСТ 5717-91
Статус:
Заменен
Тип:
ГОСТ
Название русское:
Банки стеклянные для консервов. Технические условия
Название английское:
Jars for canned food. Specifications
Даты и сроки
Дата издания:
05-01-97
Дата введения в действие:
01-01-93
Дата завершения срока действия:
07-01-04
Применение и описание
Область и условия применения:
Настоящий стандарт распространяется на стеклянные банки, предназначенные для фасования консервируемых продуктов
Связи и замены
Заменяющий:
ГОСТ 5717.2-2003 в части разд. 1; ГОСТ 5717.1-2003 в части разд. 2 - 6
Взамен:
ГОСТ 5717-81;ГОСТ 24639-81
Заменяющий в части:
ГОСТ 5717.1-2003 в части разд. 2 - 6; ГОСТ 5717.2-2003 в части разд. 1
Изменения и переиздания
Список изменений:
№1 от (рег. ) «Срок действия продлен»
Описание стандарта
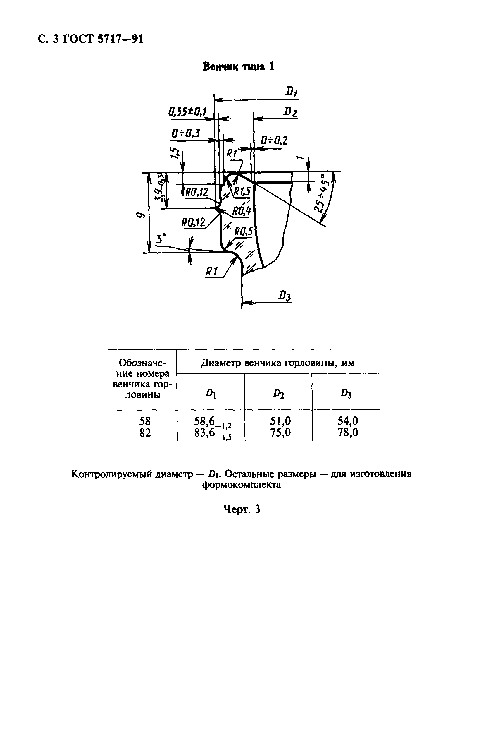
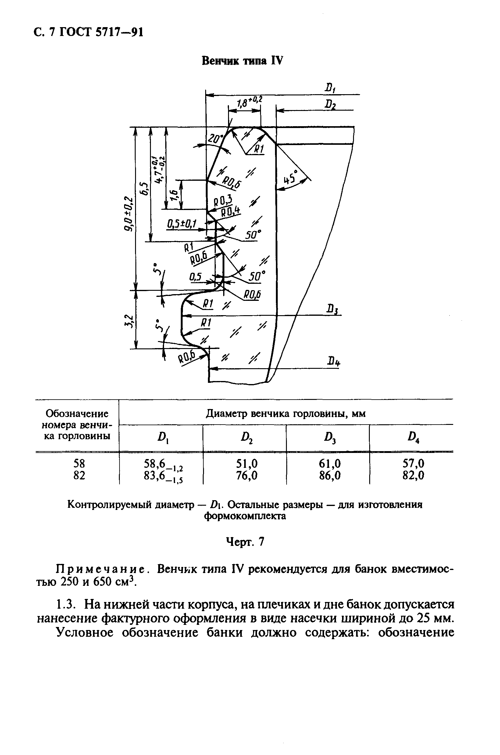
ГОСТ 5717-91 Банки стеклянные для консервов. Технические условия
Страницы стандарта























