ГОСТ 34561-2019 Упаковка стеклянная. Бутылки. Венчик 28 мм с защитой от вскрытия для жидкостей под давлением. Размеры
ГОСТ
Скачать ГОСТ в PDF или DOC бесплатно
Основная информация
Обозначение:
ГОСТ 34561-2019
Статус:
Действует
Тип:
ГОСТ
Название русское:
Упаковка стеклянная. Бутылки. Венчик 28 мм с защитой от вскрытия для жидкостей под давлением. Размеры
Название английское:
Glass packing. Bottles. 28 mm tamper-evident finish for pressurized liquids. Dimensions
Даты и сроки
Дата регистрации:
07-30-19
Дата издания:
10-10-19
Дата введения в действие:
06-01-20
Дата завершения срока действия:
-
Применение и описание
Область и условия применения:
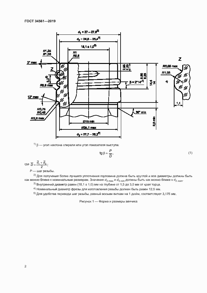
Настоящий стандарт устанавливает размеры венчика стеклянной бутылки, имеющей горловину диаметром 28 мм, с защитой от вскрытия для жидкостей под давлением
Связи и замены
Заменяющий:
-
Описание стандарта
ГОСТ 34561-2019 Упаковка стеклянная. Бутылки. Венчик 28 мм с защитой от вскрытия для жидкостей под давлением. Размеры
Страницы стандарта






