ГОСТ 26384-84 Банки жестяные цилиндрические круглые для консервов. Размеры конструктивных элементов
ГОСТ
Скачать ГОСТ в PDF или DOC бесплатно
Основная информация
Обозначение:
ГОСТ 26384-84
Статус:
Действует
Тип:
ГОСТ
Название русское:
Банки жестяные цилиндрические круглые для консервов. Размеры конструктивных элементов
Название английское:
Cylindric round tins for canned food. Sizes of constructive elements
Даты и сроки
Дата издания:
08-01-08
Дата введения в действие:
01-01-87
Дата завершения срока действия:
-
Применение и описание
Область и условия применения:
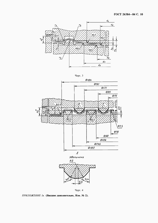
Настоящий стандарт распространяется на цилиндрические круглые банки и крышки к ним, изготовляемые из жести, и устанавливает форму и размеры конструктивных элементов неукупоренных банок и крышек, а также размеры профилей формующих частей деталей штампов, предназначенных для изготовления концов
Связи и замены
Заменяющий:
-
Изменения и переиздания
Список изменений:
№1 от (рег. ) «Срок действия продлен» №2 от (рег. ) «Срок действия продлен»
Описание стандарта
ГОСТ 26384-84 Банки жестяные цилиндрические круглые для консервов. Размеры конструктивных элементов
Страницы стандарта















