ГОСТ 5105-82 Канистры стальные для горючего и масел. Технические условия
ГОСТ
Скачать ГОСТ в PDF или DOC бесплатно
Основная информация
Обозначение:
ГОСТ 5105-82
Статус:
Действует
Тип:
ГОСТ
Название русское:
Канистры стальные для горючего и масел. Технические условия
Название английское:
Steel tanks for fuel and oils. Specifications
Даты и сроки
Дата издания:
03-01-96
Дата введения в действие:
01-01-84
Дата завершения срока действия:
-
Применение и описание
Область и условия применения:
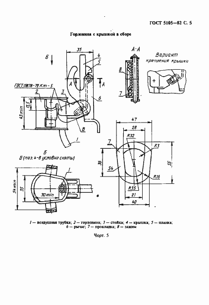
Настоящий стандарт распространяется на сварные стальные канистры, предназначенные для транспортирования и хранения горючего и масел
Связи и замены
Заменяющий:
-
Взамен:
ГОСТ 5105-76
Изменения и переиздания
Список изменений:
№1 от (рег. ) «Срок действия продлен» №2 от (рег. ) «Срок действия продлен» №3 от (рег. ) «Срок действия продлен» №4 от (рег. ) «Срок действия продлен» №5 от (рег. ) «Срок действия продлен»
Описание стандарта
ГОСТ 5105-82 Канистры стальные для горючего и масел. Технические условия
Страницы стандарта





















