ГОСТ 12303-80 Пачки из картона, бумаги и комбинированных материалов. Общие технические условия
ГОСТ
Скачать ГОСТ в PDF или DOC бесплатно
Основная информация
Обозначение:
ГОСТ 12303-80
Статус:
Заменен
Тип:
ГОСТ
Название русское:
Пачки из картона, бумаги и комбинированных материалов. Общие технические условия
Название английское:
Packs of paperboard, paper and composite materials. General specifications
Даты и сроки
Дата издания:
08-01-08
Дата введения в действие:
01-01-82
Дата завершения срока действия:
05-01-17
Применение и описание
Область и условия применения:
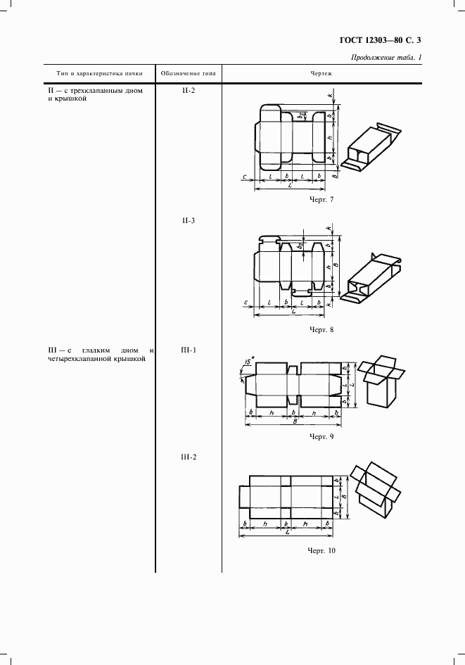
Настоящий стандарт распространяется на пачки из картона, бумаги и комбинированных материалов на основе картона и бумаги, предназначенные для упаковывания и хранения промышленной продукции
Связи и замены
Заменяющий:
ГОСТ 33781-2016
Взамен:
ГОСТ 12303-72
Изменения и переиздания
Список изменений:
№1 от (рег. ) «Срок действия продлен» №2 от (рег. ) «Срок действия продлен» №3 от (рег. ) «Срок действия продлен» №4 от (рег. ) «Срок действия продлен»
Описание стандарта
ГОСТ 12303-80 Пачки из картона, бумаги и комбинированных материалов. Общие технические условия
Страницы стандарта












