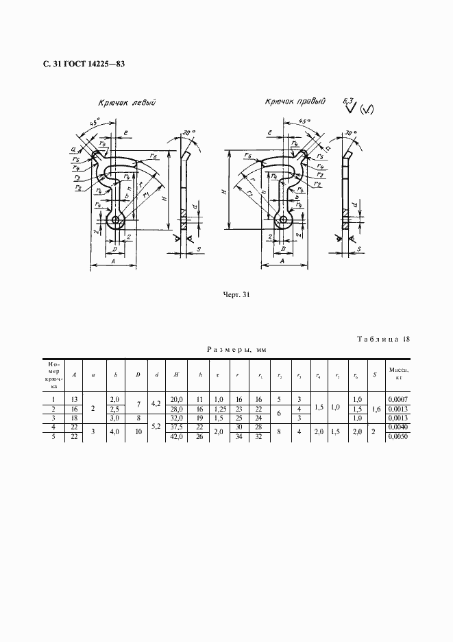
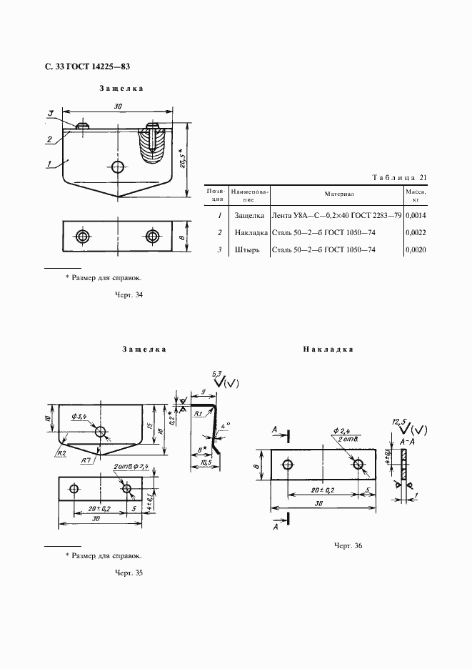
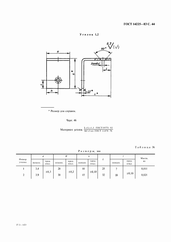
ГОСТ 14225-83 Футляры деревянные. Общие технические условия
ГОСТ
Скачать ГОСТ в PDF или DOC бесплатно
Основная информация
Обозначение:
ГОСТ 14225-83
Статус:
Действует
Тип:
ГОСТ
Название русское:
Футляры деревянные. Общие технические условия
Название английское:
Wooden cases. General specifications
Даты и сроки
Дата издания:
07-01-08
Дата введения в действие:
01-01-85
Дата завершения срока действия:
-
Применение и описание
Область и условия применения:
Настоящий стандарт распространяется на деревянные футляры, предназначенные для упаковывания, транспортирования и хранения приборов, запасных частей, инструментов и принадлежностей массой до 80 кг
Связи и замены
Заменяющий:
-
Взамен:
ГОСТ 14225-77
Изменения и переиздания
Список изменений:
№1 от (рег. ) «Срок действия продлен» №2 от (рег. ) «Срок действия продлен»
Описание стандарта
ГОСТ 14225-83 Футляры деревянные. Общие технические условия
Страницы стандарта


















































