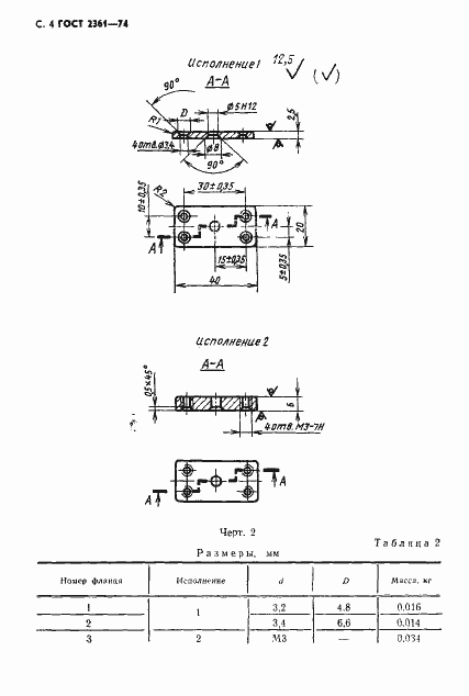
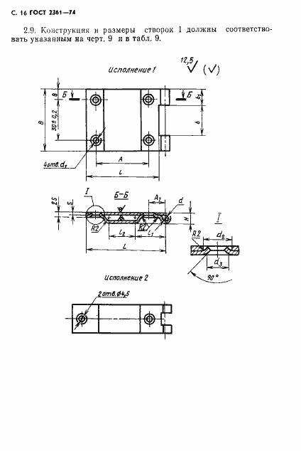
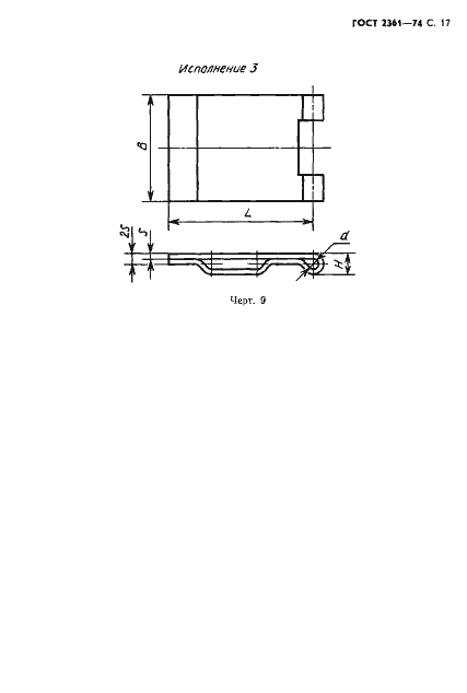
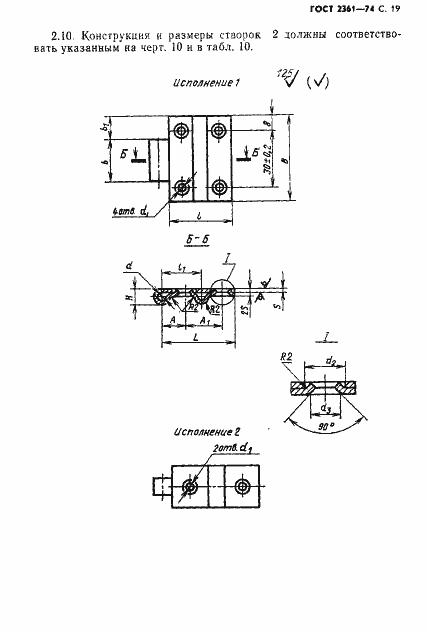
ГОСТ 2361-74 Ограничители для откидных крышек ящиков. Технические условия
ГОСТ
Скачать ГОСТ в PDF или DOC бесплатно
Основная информация
Обозначение:
ГОСТ 2361-74
Статус:
Действует
Тип:
ГОСТ
Название русское:
Ограничители для откидных крышек ящиков. Технические условия
Название английское:
Limiters for cases flap covers. Specifications
Даты и сроки
Дата издания:
01-01-90
Дата введения в действие:
06-30-75
Дата завершения срока действия:
-
Применение и описание
Область и условия применения:
Настоящий стандарт распространяется на ограничители для откидных крышек деревянных и металлических ящиков
Связи и замены
Заменяющий:
-
Взамен:
ГОСТ 2361-43
Изменения и переиздания
Список изменений:
№1 от (рег. ) «Срок действия продлен» №2 от (рег. ) «Срок действия продлен» №3 от (рег. ) «Срок действия продлен»
Описание стандарта
ГОСТ 2361-74 Ограничители для откидных крышек ящиков. Технические условия
Страницы стандарта
































