ГОСТ 20527-82 Фитинги угловые крупнотоннажных контейнеров. Конструкция и размеры
ГОСТ
Скачать ГОСТ в PDF или DOC бесплатно
Основная информация
Обозначение:
ГОСТ 20527-82
Статус:
Действует
Тип:
ГОСТ
Название русское:
Фитинги угловые крупнотоннажных контейнеров. Конструкция и размеры
Название английское:
Angle fittings for gross weignt freigt containers. Desing and dimensions
Даты и сроки
Дата издания:
11-01-04
Дата введения в действие:
01-01-83
Дата завершения срока действия:
-
Применение и описание
Область и условия применения:
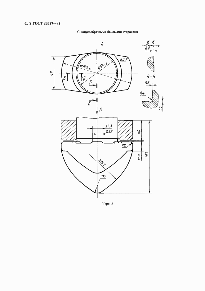
Настоящий стандарт распространяется на угловые фитинги крупнотоннажных контейнеров. Стандарт не распространяется на фитинги авиационных контейнеров
Связи и замены
Заменяющий:
-
Взамен:
ГОСТ 20527-75
Изменения и переиздания
Список изменений:
№1 от (рег. ) «Срок действия продлен»
Описание стандарта
ГОСТ 20527-82 Фитинги угловые крупнотоннажных контейнеров. Конструкция и размеры
Страницы стандарта









