ГОСТ Р ИСО 1496-5-2012 Контейнеры грузовые серии 1. Технические требования и методы испытаний. Часть 5. Контейнеры-платформы и контейнеры на базе платформ
ГОСТ Р ИСО
Скачать ГОСТ в PDF или DOC бесплатно
Основная информация
Обозначение:
ГОСТ Р ИСО 1496-5-2012
Статус:
Действует
Тип:
ГОСТ Р ИСО
Название русское:
Контейнеры грузовые серии 1. Технические требования и методы испытаний. Часть 5. Контейнеры-платформы и контейнеры на базе платформ
Название английское:
Series 1 freight containers. Specification and testing. Part 5. Platform and platform-based containers
Даты и сроки
Дата издания:
07-15-19
Дата введения в действие:
07-01-13
Дата завершения срока действия:
-
Применение и описание
Область и условия применения:
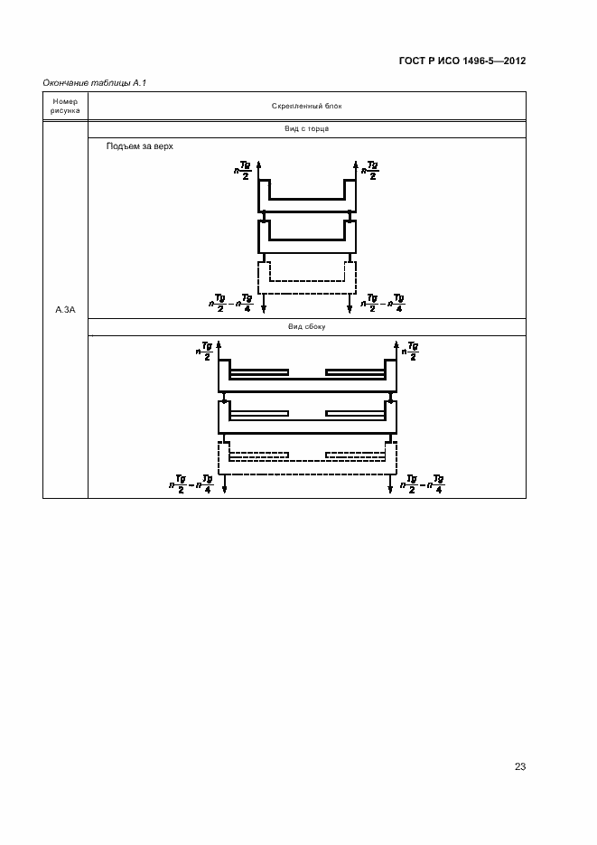
Настоящий стандарт распространяется на крупнотоннажные контейнеры-платформы и контейнеры на базе платформ серии 1 ИСО и устанавливает основные технические требования и методы испытаний контейнеров 1ААА, 1АА, 1А, 1АХ, 1ВВВ, 1ВВ, 1В, 1ВХ, 1СС, 1С, 1СХ, предназначенных для международного обмена и перевозки железнодорожным, морским и автомобильным транспортом, включая передачу между этими видами транспорта с определенными ограничениями (например, когда в груженом состоянии контейнеры не должны устанавливаться в штабели или подниматься при помощи обычных спредеров)
Связи и замены
Заменяющий:
-
Описание стандарта
ГОСТ Р ИСО 1496-5-2012 Контейнеры грузовые серии 1. Технические требования и методы испытаний. Часть 5. Контейнеры-платформы и контейнеры на базе платформ
Страницы стандарта






































