ГОСТ Р 51891-2008 Контейнеры грузовые серии 1. Фитинги. Технические условия
ГОСТ Р
Скачать ГОСТ в PDF или DOC бесплатно
Основная информация
Обозначение:
ГОСТ Р 51891-2008
Статус:
Действует
Тип:
ГОСТ Р
Название русское:
Контейнеры грузовые серии 1. Фитинги. Технические условия
Название английское:
Series 1 freight containers. Fittings. Specifications
Даты и сроки
Дата издания:
10-16-08
Дата введения в действие:
01-01-09
Дата завершения срока действия:
-
Применение и описание
Область и условия применения:
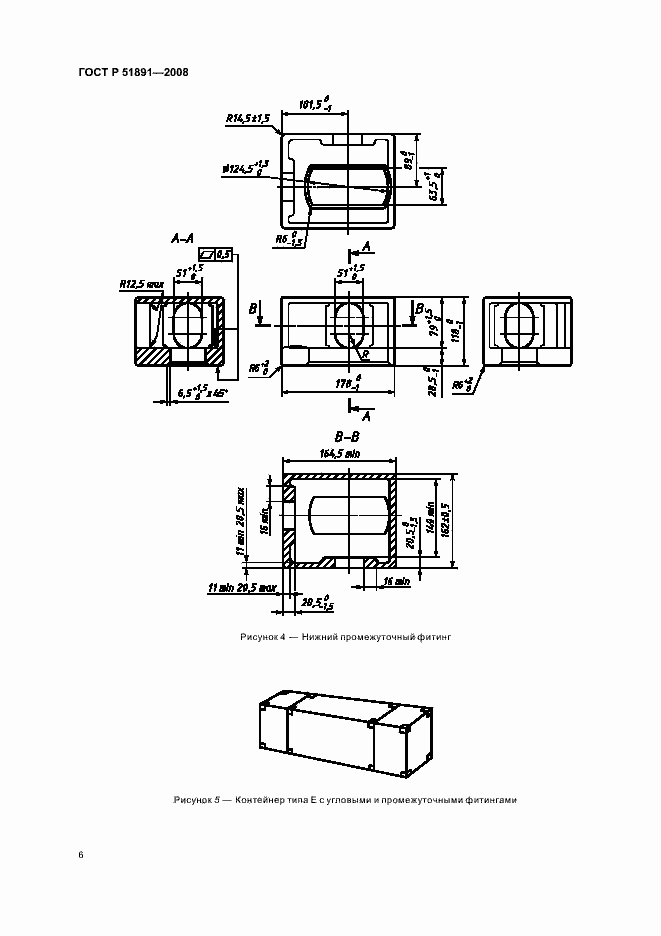
Настоящий стандарт устанавливает основные размеры и требования к прочности угловых и промежуточных фитингов, предназначенных для грузовых контейнеров серии 1. Настоящий стандарт не распространяется на угловые фитинги авиационных контейнеров
Связи и замены
Заменяющий:
-
Взамен:
ГОСТ Р 51891-2002
Описание стандарта
ГОСТ Р 51891-2008 Контейнеры грузовые серии 1. Фитинги. Технические условия
Страницы стандарта









































Приложение №1: Изменение №1 к ГОСТ Р 51891-2008 Обозначение: Изменение №1 к ГОСТ Р 51891-2008 Дата введения в действие: 01.04.2020

Приложение №1: Изменение №1 к ГОСТ Р 51891-2008 Обозначение: Изменение №1 к ГОСТ Р 51891-2008 Дата введения в действие: 01.04.2020

Приложение №1: Изменение №1 к ГОСТ Р 51891-2008 Обозначение: Изменение №1 к ГОСТ Р 51891-2008 Дата введения в действие: 01.04.2020

Приложение №1: Изменение №1 к ГОСТ Р 51891-2008 Обозначение: Изменение №1 к ГОСТ Р 51891-2008 Дата введения в действие: 01.04.2020

Приложение №1: Изменение №1 к ГОСТ Р 51891-2008 Обозначение: Изменение №1 к ГОСТ Р 51891-2008 Дата введения в действие: 01.04.2020

Приложение №1: Изменение №1 к ГОСТ Р 51891-2008 Обозначение: Изменение №1 к ГОСТ Р 51891-2008 Дата введения в действие: 01.04.2020

Приложение №1: Изменение №1 к ГОСТ Р 51891-2008 Обозначение: Изменение №1 к ГОСТ Р 51891-2008 Дата введения в действие: 01.04.2020

Приложение №1: Изменение №1 к ГОСТ Р 51891-2008 Обозначение: Изменение №1 к ГОСТ Р 51891-2008 Дата введения в действие: 01.04.2020

Приложение №1: Изменение №1 к ГОСТ Р 51891-2008 Обозначение: Изменение №1 к ГОСТ Р 51891-2008 Дата введения в действие: 01.04.2020

Приложение №1: Изменение №1 к ГОСТ Р 51891-2008 Обозначение: Изменение №1 к ГОСТ Р 51891-2008 Дата введения в действие: 01.04.2020
