ГОСТ 13481-76 Волокно и жгут химические. Метод определения усадки
ГОСТ
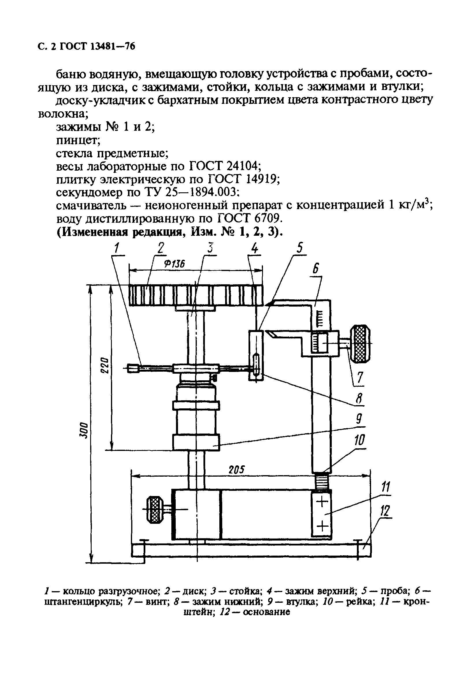
Скачать ГОСТ в PDF или DOC бесплатно
Основная информация
Обозначение:
ГОСТ 13481-76
Статус:
Заменен
Тип:
ГОСТ
Название русское:
Волокно и жгут химические. Метод определения усадки
Название английское:
Man-made fiber and tow. Method of determination of shrinkage
Даты и сроки
Дата издания:
10-01-96
Дата введения в действие:
01-01-78
Дата завершения срока действия:
01-01-03
Применение и описание
Область и условия применения:
Настоящий стандарт распространяется на химические волокна и жгут и устанавливает метод определения линейной усадки под действием кипящей воды или горячего воздуха. Стандарт не распространяется на поливинилхлоридное волокно
Связи и замены
Заменяющий:
ГОСТ 13481-2001
Взамен:
ГОСТ 13481-68
Изменения и переиздания
Список изменений:
№1 от (рег. ) «Срок действия продлен» №2 от (рег. ) «Срок действия продлен» №3 от (рег. ) «Срок действия продлен»
Описание стандарта
ГОСТ 13481-76 Волокно и жгут химические. Метод определения усадки
Страницы стандарта






