ГОСТ Р 54873-2011 Полотна нетканые и изделия из них. Методы определения времени пропускания жидкости
ГОСТ Р
Скачать ГОСТ в PDF или DOC бесплатно
Основная информация
Обозначение:
ГОСТ Р 54873-2011
Статус:
Действует
Тип:
ГОСТ Р
Название русское:
Полотна нетканые и изделия из них. Методы определения времени пропускания жидкости
Название английское:
Nonwoven fabrics and products. Methods for determination of liquid strike-through time
Даты и сроки
Дата издания:
11-23-12
Дата введения в действие:
01-01-13
Дата завершения срока действия:
-
Применение и описание
Область и условия применения:
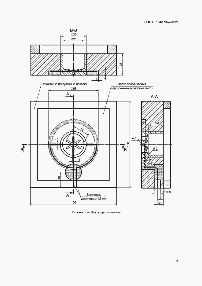
Настоящий стандарт распространяется на метод определения времени пропускания жидкости (искусственной мочи) нетканых полотен и изделий из них. Метод пригоден для сравнительных испытаний нетканых полотен различных типов и структур и изделий из них. Метод не моделирует условия использования готовых изделий. Стандарт устанавливает метод лабораторного определения времени пропускания жидкости нетканых полотен, используемых в женских гигиенических прокладках (пакетах) и других изделиях санитарно–гигиенического назначения. Сущность метода заключается в измерении времени, затраченного жидкостью, имитирующей мочу, для проникновения через испытуемые нетканые материалы и изделия из них, которые помещены на абсорбирующую подушку, при заданных условиях и скорости
Связи и замены
Заменяющий:
-
Описание стандарта
ГОСТ Р 54873-2011 Полотна нетканые и изделия из них. Методы определения времени пропускания жидкости
Страницы стандарта











