ГОСТ Р 58994-2020 Двигатели газотурбинные. Методика определения объемных остаточных напряжений в деталях газотурбинных двигателей
ГОСТ Р
Скачать ГОСТ в PDF или DOC бесплатно
Основная информация
Обозначение:
ГОСТ Р 58994-2020
Статус:
Действует
Тип:
ГОСТ Р
Название русское:
Двигатели газотурбинные. Методика определения объемных остаточных напряжений в деталях газотурбинных двигателей
Название английское:
Gas turbine engines. Method for determining the volumetric residual stresses in parts of gas turbine engines
Даты и сроки
Дата издания:
10-07-20
Дата введения в действие:
01-01-21
Дата завершения срока действия:
-
Применение и описание
Область и условия применения:
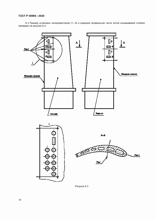
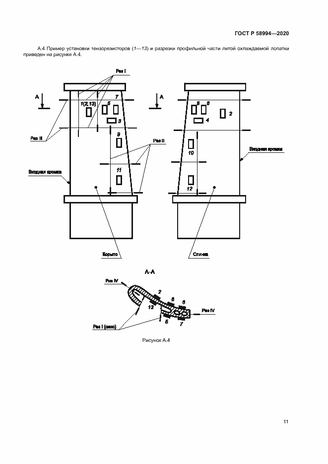
Настоящий стандарт устанавливает методику определения остаточных напряжений деталей газотурбинных двигателей тензометрическим методом. Тензометрический метод определения объемных остаточных напряжений основан на измерении деформаций, происходящих в результате снятия напряжений разрезкой детали на части
Связи и замены
Заменяющий:
-
Описание стандарта
ГОСТ Р 58994-2020 Двигатели газотурбинные. Методика определения объемных остаточных напряжений в деталях газотурбинных двигателей
Страницы стандарта


















