ГОСТ Р 57427-2017 Материалы текстильные. Методы испытаний нетканых материалов. Часть 10. Определение появления пуха и других частиц в сухом состоянии
ГОСТ Р
Скачать ГОСТ в PDF или DOC бесплатно
Основная информация
Обозначение:
ГОСТ Р 57427-2017
Статус:
Действует
Тип:
ГОСТ Р
Название русское:
Материалы текстильные. Методы испытаний нетканых материалов. Часть 10. Определение появления пуха и других частиц в сухом состоянии
Название английское:
Textile. Test methods for nonwovens. Part 10. Determination of lint and other particles generation in the dry state
Даты и сроки
Дата издания:
04-20-17
Дата введения в действие:
01-01-18
Дата завершения срока действия:
-
Применение и описание
Область и условия применения:
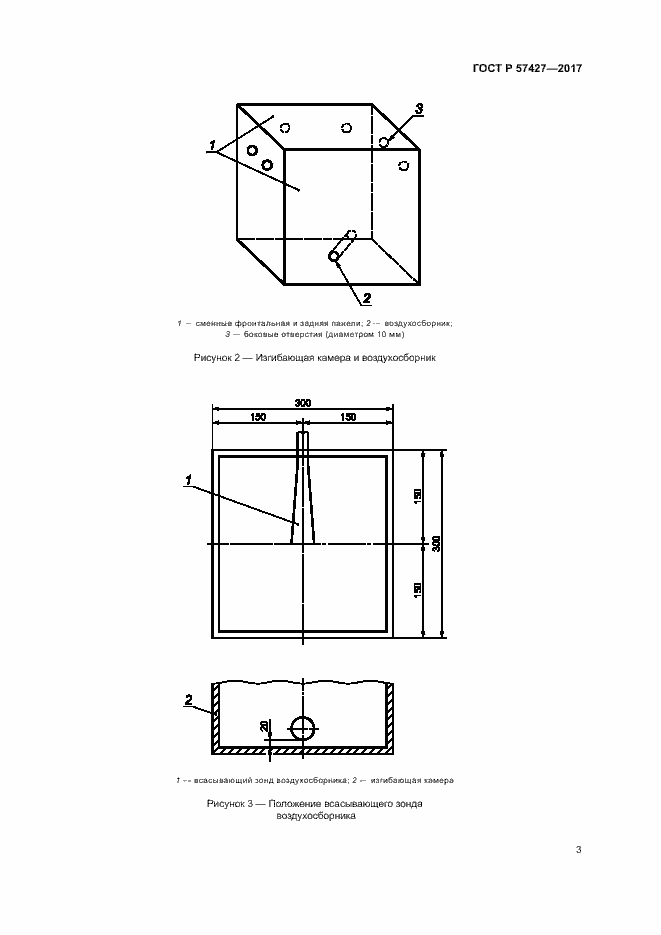
Настоящий стандарт устанавливает метод испытания для измерения появления пуха и других частиц в сухом состоянии. Данный метод применим также для других текстильных материалов
Связи и замены
Заменяющий:
-
Описание стандарта
ГОСТ Р 57427-2017 Материалы текстильные. Методы испытаний нетканых материалов. Часть 10. Определение появления пуха и других частиц в сухом состоянии
Страницы стандарта














