ГОСТ Р ИСО 4674-2-2017 Ткани с резиновым или полимерным покрытием. Определение сопротивления раздиру. Часть 2. Метод баллистического маятника
ГОСТ Р ИСО
Скачать ГОСТ в PDF или DOC бесплатно
Основная информация
Обозначение:
ГОСТ Р ИСО 4674-2-2017
Статус:
Действует
Тип:
ГОСТ Р ИСО
Название русское:
Ткани с резиновым или полимерным покрытием. Определение сопротивления раздиру. Часть 2. Метод баллистического маятника
Название английское:
Rubber- or plastics-coated fabrics. Determination of tear resistamce. Part 2. Ballistic pendulum method
Даты и сроки
Дата издания:
06-07-17
Дата введения в действие:
03-01-18
Дата завершения срока действия:
-
Применение и описание
Область и условия применения:
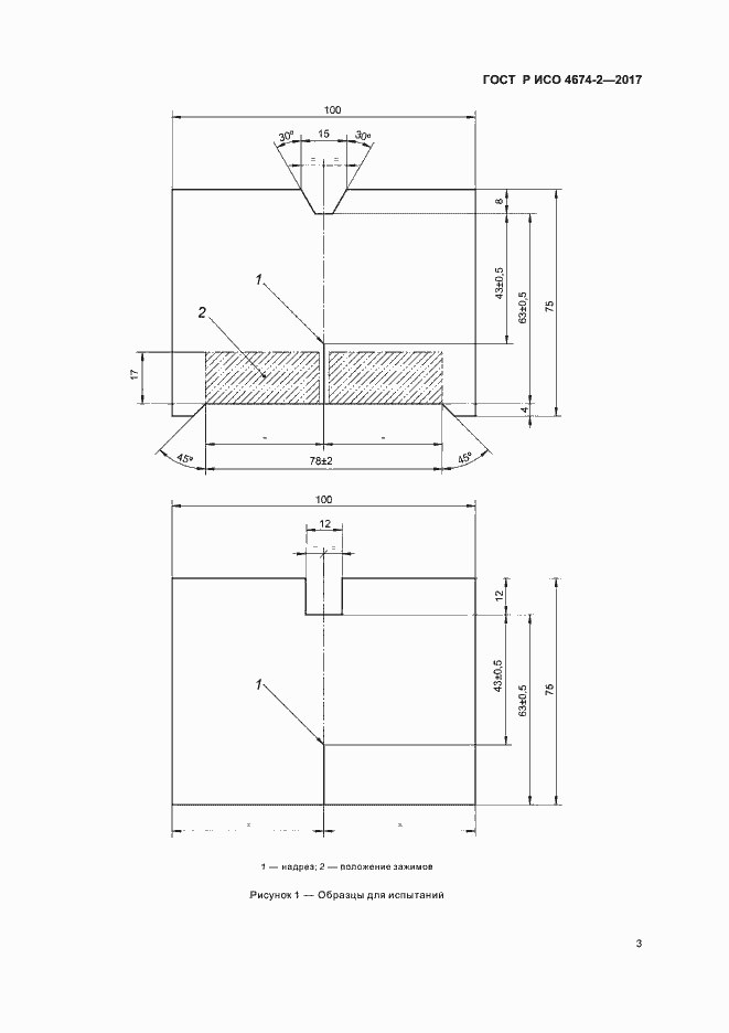
Настоящий стандарт устанавливает метод определения сопротивления раздиру тканей с резиновым или полимерным покрытием. Метод основан на воздействии усилия, прикладываемого к надрезанному образцу для испытания. Испытание проводят на образцах, кондиционированных в стандартных атмосферных условиях, или образцах, которые были подвергнуты предварительной обработке, например, погружению в воду. Результаты, полученные данным методом, нельзя сравнивать с результатами испытаний, в основе которых заложена постоянная скорость раздира
Связи и замены
Заменяющий:
-
Описание стандарта
ГОСТ Р ИСО 4674-2-2017 Ткани с резиновым или полимерным покрытием. Определение сопротивления раздиру. Часть 2. Метод баллистического маятника
Страницы стандарта










