ГОСТ Р 57627-2017 Материалы текстильные. Методы испытаний нетканых материалов. Часть 14. Определение обратного проникания жидкости сквозь покрытие
ГОСТ Р
Скачать ГОСТ в PDF или DOC бесплатно
Основная информация
Обозначение:
ГОСТ Р 57627-2017
Статус:
Действует
Тип:
ГОСТ Р
Название русское:
Материалы текстильные. Методы испытаний нетканых материалов. Часть 14. Определение обратного проникания жидкости сквозь покрытие
Название английское:
Textile. Test methods for nonwovens. Part 14. Determination of coverstock wetback
Даты и сроки
Дата издания:
09-04-17
Дата введения в действие:
05-01-18
Дата завершения срока действия:
-
Применение и описание
Область и условия применения:
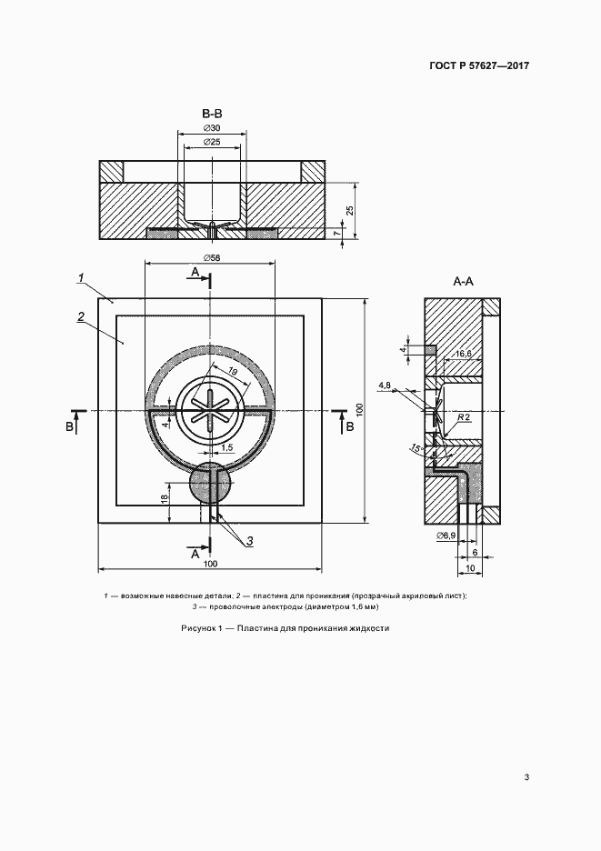
Настоящий стандарт устанавливает метод испытания для определения способности покрытия подгузников из нетканого материала препятствовать обратному прониканию на кожу просочившейся сквозь покрытие жидкости. Данный метод аналогичен определению времени повторяющегося проникания жидкости по ГОСТ Р ХХХХХХ (ИСО 9073-13:2006). Данный метод предназначен для контроля качества и сравнения обратного проникания жидкости для различных типов покрытий из нетканых материалов и видов их обработок. Метод не имитирует реальные условия эксплуатации готовых изделий
Связи и замены
Заменяющий:
-
Описание стандарта
ГОСТ Р 57627-2017 Материалы текстильные. Методы испытаний нетканых материалов. Часть 14. Определение обратного проникания жидкости сквозь покрытие
Страницы стандарта











