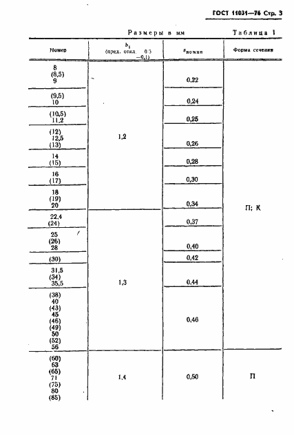
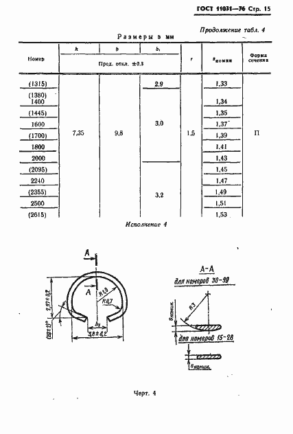
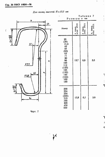
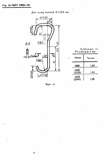
ГОСТ 11031-76 Бегунки металлические для колец прядильных и крутильных машин. Технические условия
ГОСТ
Скачать ГОСТ в PDF или DOC бесплатно
Основная информация
Обозначение:
ГОСТ 11031-76
Статус:
Действует
Тип:
ГОСТ
Название русское:
Бегунки металлические для колец прядильных и крутильных машин. Технические условия
Название английское:
Metal travellers for rings of spinning and ring-doubling frams. Specifications
Даты и сроки
Дата издания:
04-01-82
Дата введения в действие:
06-30-78
Дата завершения срока действия:
-
Применение и описание
Область и условия применения:
Настоящий стандарт распространяется на металлические бегунки для колец прядильных и крутильных машин, а также на металлические бегунки, предназначенные для экспорта
Связи и замены
Заменяющий:
-
Взамен:
ГОСТ 11031-68
Изменения и переиздания
Список изменений:
№1 от (рег. ) «Срок действия продлен» №2 от (рег. ) «Срок действия продлен» №3 от (рег. ) «Срок действия продлен» №4 от (рег. ) «Срок действия продлен» №5 от (рег. ) «Срок действия продлен»
Описание стандарта
ГОСТ 11031-76 Бегунки металлические для колец прядильных и крутильных машин. Технические условия
Страницы стандарта























































