ГОСТ 27289-87 Веретена кольцевых прядильных и крутильных машин. Основные параметры и размеры
ГОСТ
Скачать ГОСТ в PDF или DOC бесплатно
Основная информация
Обозначение:
ГОСТ 27289-87
Статус:
Действует
Тип:
ГОСТ
Название русское:
Веретена кольцевых прядильных и крутильных машин. Основные параметры и размеры
Название английское:
Spindles for twister and ring frames
Даты и сроки
Дата издания:
07-15-87
Дата введения в действие:
01-01-88
Дата завершения срока действия:
-
Применение и описание
Область и условия применения:
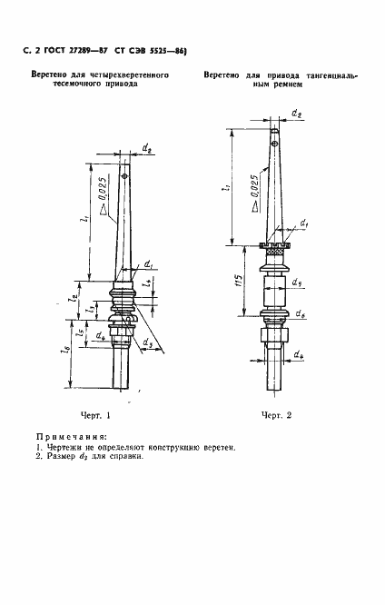
Настоящий стандарт распространяется на веретена кольцевых прядильных и крутильных машин для производства нитей из натуральных волокон и их смесей с химическими волокнами и устанавливает требования к веретенам, изготовляемым для нужд народного хозяйства и экспорта. Стандарт не распространяется на веретена машин для прядения льна
Связи и замены
Заменяющий:
-
Описание стандарта
ГОСТ 27289-87 Веретена кольцевых прядильных и крутильных машин. Основные параметры и размеры
Страницы стандарта







