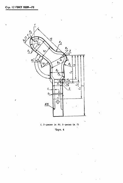
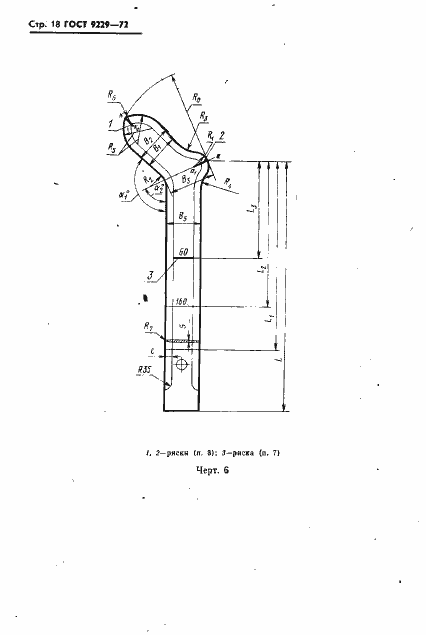
ГОСТ 9229-72 Формы отделочные для чулочно-носочных изделий. Размеры
ГОСТ
Скачать ГОСТ в PDF или DOC бесплатно
Основная информация
Обозначение:
ГОСТ 9229-72
Статус:
Действует
Тип:
ГОСТ
Название русское:
Формы отделочные для чулочно-носочных изделий. Размеры
Название английское:
Finishing forms for socks and stockings. Dimensions
Даты и сроки
Дата издания:
02-01-84
Дата введения в действие:
06-30-74
Дата завершения срока действия:
-
Применение и описание
Область и условия применения:
Настоящий стандарт распространяется на формы для машинной отделки чулочно-носочных изделий, вырабатываемых на круглочулочных автоматах и котонных машинах из различных видов натурального, искусственного и синтетического сырья и их различных сочетаний, кроме форм для отделки чулочно-носочных изделий, вырабатываемых на круглочулочных автоматах из капроновой нити эластик
Связи и замены
Заменяющий:
-
Взамен:
ГОСТ 9229-59
Изменения и переиздания
Список изменений:
№0 от (рег. ) «Срок действия продлен» №1 от (рег. ) «Срок действия продлен» №2 от (рег. ) «Срок действия продлен»
Описание стандарта
ГОСТ 9229-72 Формы отделочные для чулочно-носочных изделий. Размеры
Страницы стандарта





















