ГОСТ Р 50039-92 Машины текстильные и оборудование вспомогательное. Патроны конические для намотки пряжи (крестовая намотка). Половина угла конуса 4°20`. Размеры и методы контроля
ГОСТ Р
Скачать ГОСТ в PDF или DOC бесплатно
Основная информация
Обозначение:
ГОСТ Р 50039-92
Статус:
Действует
Тип:
ГОСТ Р
Название русское:
Машины текстильные и оборудование вспомогательное. Патроны конические для намотки пряжи (крестовая намотка). Половина угла конуса 4°20`. Размеры и методы контроля
Название английское:
Textile machinery and accessories. Cones for yarn winding (cross wound). Half angle of the cone 4°20`. Dimensions and checking methods
Даты и сроки
Дата издания:
09-01-92
Дата введения в действие:
06-30-93
Дата завершения срока действия:
-
Применение и описание
Область и условия применения:
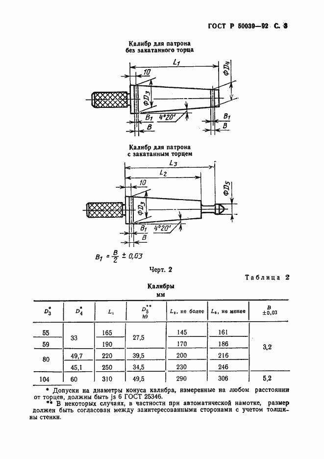
Настоящий стандарт устанавливает размеры и допуски конических патронов для намотки пряжи (крестовая намотка), имеющих половину угла конуса 4 град. 20`, а также размеры и допуски калибров для проверки этих патронов
Связи и замены
Заменяющий:
-
Описание стандарта
ГОСТ Р 50039-92 Машины текстильные и оборудование вспомогательное. Патроны конические для намотки пряжи (крестовая намотка). Половина угла конуса 4°20`. Размеры и методы контроля
Страницы стандарта





