ГОСТ 25937-83 Материалы обувные. Метод определения удельных объемного и поверхностного электрических сопротивлений
ГОСТ
Скачать ГОСТ в PDF или DOC бесплатно
Основная информация
Обозначение:
ГОСТ 25937-83
Статус:
Действует
Тип:
ГОСТ
Название русское:
Материалы обувные. Метод определения удельных объемного и поверхностного электрических сопротивлений
Название английское:
Materials for shoes. Method for determination of specific volume and surface resistance
Даты и сроки
Дата издания:
01-12-84
Дата введения в действие:
01-01-85
Дата завершения срока действия:
-
Применение и описание
Область и условия применения:
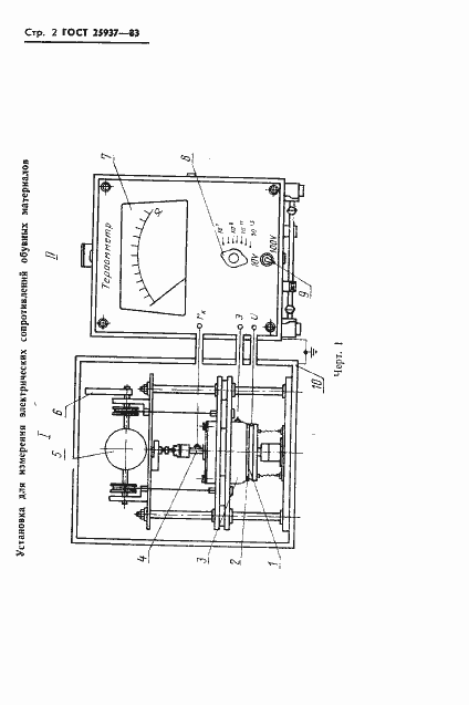
Настоящий стандарт распространяется на материалы для верха, низа, подкладки и промежуточных деталей обуви и устанавливает метод определения удельных объемного и поверхностного электрических сопротивлений, характеризующих способность материалов к рассеянию электрических зарядов. Настоящий стандарт не распространяется на токопроводящие материалы
Связи и замены
Заменяющий:
-
Описание стандарта
ГОСТ 25937-83 Материалы обувные. Метод определения удельных объемного и поверхностного электрических сопротивлений
Страницы стандарта







