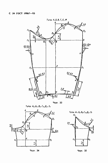
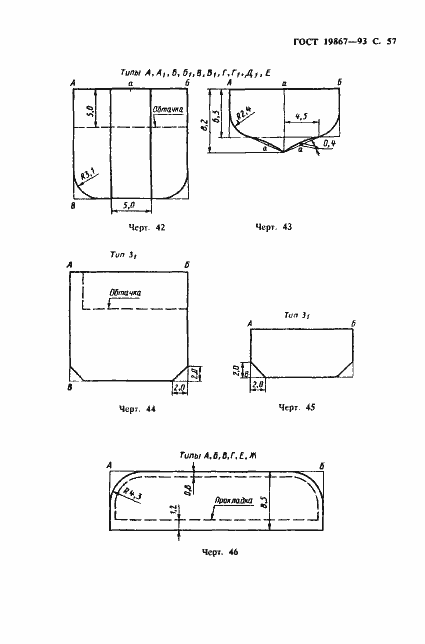
ГОСТ 19867-93 Рубашки форменные. Технические условия
ГОСТ
Скачать ГОСТ в PDF или DOC бесплатно
Основная информация
Обозначение:
ГОСТ 19867-93
Статус:
Действует
Тип:
ГОСТ
Название русское:
Рубашки форменные. Технические условия
Название английское:
Uniform shirts. Specifications
Даты и сроки
Дата регистрации:
10-21-93
Дата издания:
08-02-95
Дата введения в действие:
01-01-95
Дата завершения срока действия:
-
Применение и описание
Область и условия применения:
Настоящий стандарт распространяется на форменные рубашки, поставляемые для Вооруженных Сил, Министерства внутренних дел и Комитета государственной безопасности
Связи и замены
Заменяющий:
-
Взамен:
ГОСТ 19867-85
Описание стандарта
ГОСТ 19867-93 Рубашки форменные. Технические условия
Страницы стандарта







































































