ГОСТ 20756-88 Шинели двубортные для военнослужащих. Технические условия
ГОСТ
Скачать ГОСТ в PDF или DOC бесплатно
Основная информация
Обозначение:
ГОСТ 20756-88
Статус:
Действует
Тип:
ГОСТ
Название русское:
Шинели двубортные для военнослужащих. Технические условия
Название английское:
Double-breasted overcoats for military men. Specifications
Даты и сроки
Дата издания:
06-14-88
Дата введения в действие:
01-01-90
Дата завершения срока действия:
-
Применение и описание
Область и условия применения:
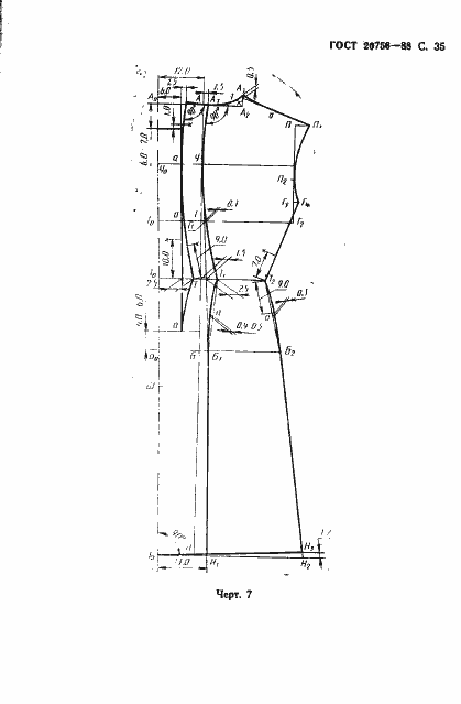
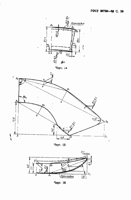
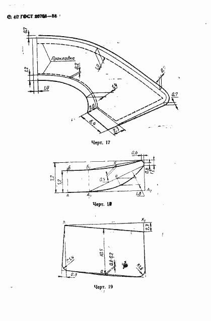
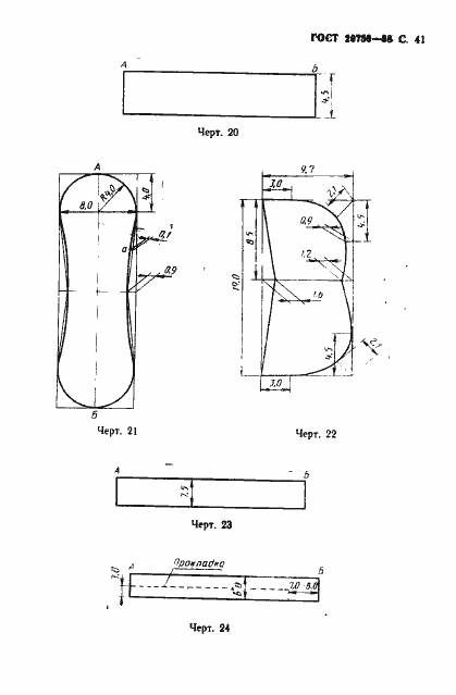
Настоящий стандарт распространяется на двубортные шинели для военнослужащих
Связи и замены
Заменяющий:
-
Взамен:
ГОСТ 20756-75
Описание стандарта
ГОСТ 20756-88 Шинели двубортные для военнослужащих. Технические условия
Страницы стандарта




















































