ГОСТ 23560-79 Шинели для суворовцев, воспитанников военно-музыкальных школ и нахимовцев. Технические условия
ГОСТ
Скачать ГОСТ в PDF или DOC бесплатно
Основная информация
Обозначение:
ГОСТ 23560-79
Статус:
Действует
Тип:
ГОСТ
Название русское:
Шинели для суворовцев, воспитанников военно-музыкальных школ и нахимовцев. Технические условия
Название английское:
Greatcoats for pupils of Suvorov military colleges, military musical colleges and Nakhimov naval college. Specifications
Даты и сроки
Дата издания:
02-01-84
Дата введения в действие:
06-30-80
Дата завершения срока действия:
-
Применение и описание
Область и условия применения:
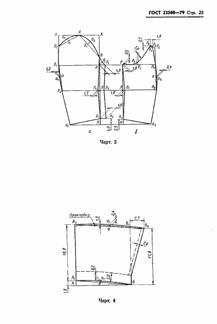
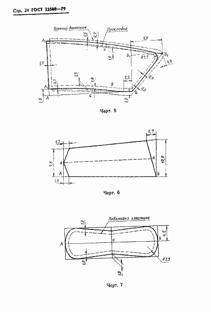
Настоящий стандарт распространяется на суконные шинели для суворовцев, нахимовцев, воспитанников военно-музыкальных училищ и учащихся специальных школ-интернатов
Связи и замены
Заменяющий:
-
Изменения и переиздания
Список изменений:
№1 от (рег. ) «Срок действия продлен» №2 от (рег. ) «Срок действия продлен»
Описание стандарта
ГОСТ 23560-79 Шинели для суворовцев, воспитанников военно-музыкальных школ и нахимовцев. Технические условия
Страницы стандарта


































