ГОСТ 26466-85 Костюм специальный меховой для военнослужащих Военно-Морского Флота. Технические условия
ГОСТ
Скачать ГОСТ в PDF или DOC бесплатно
Основная информация
Обозначение:
ГОСТ 26466-85
Статус:
Действует
Тип:
ГОСТ
Название русское:
Костюм специальный меховой для военнослужащих Военно-Морского Флота. Технические условия
Название английское:
Special fur suit for Navy soldiers. Specifications
Даты и сроки
Дата издания:
05-29-85
Дата введения в действие:
06-30-86
Дата завершения срока действия:
-
Применение и описание
Область и условия применения:
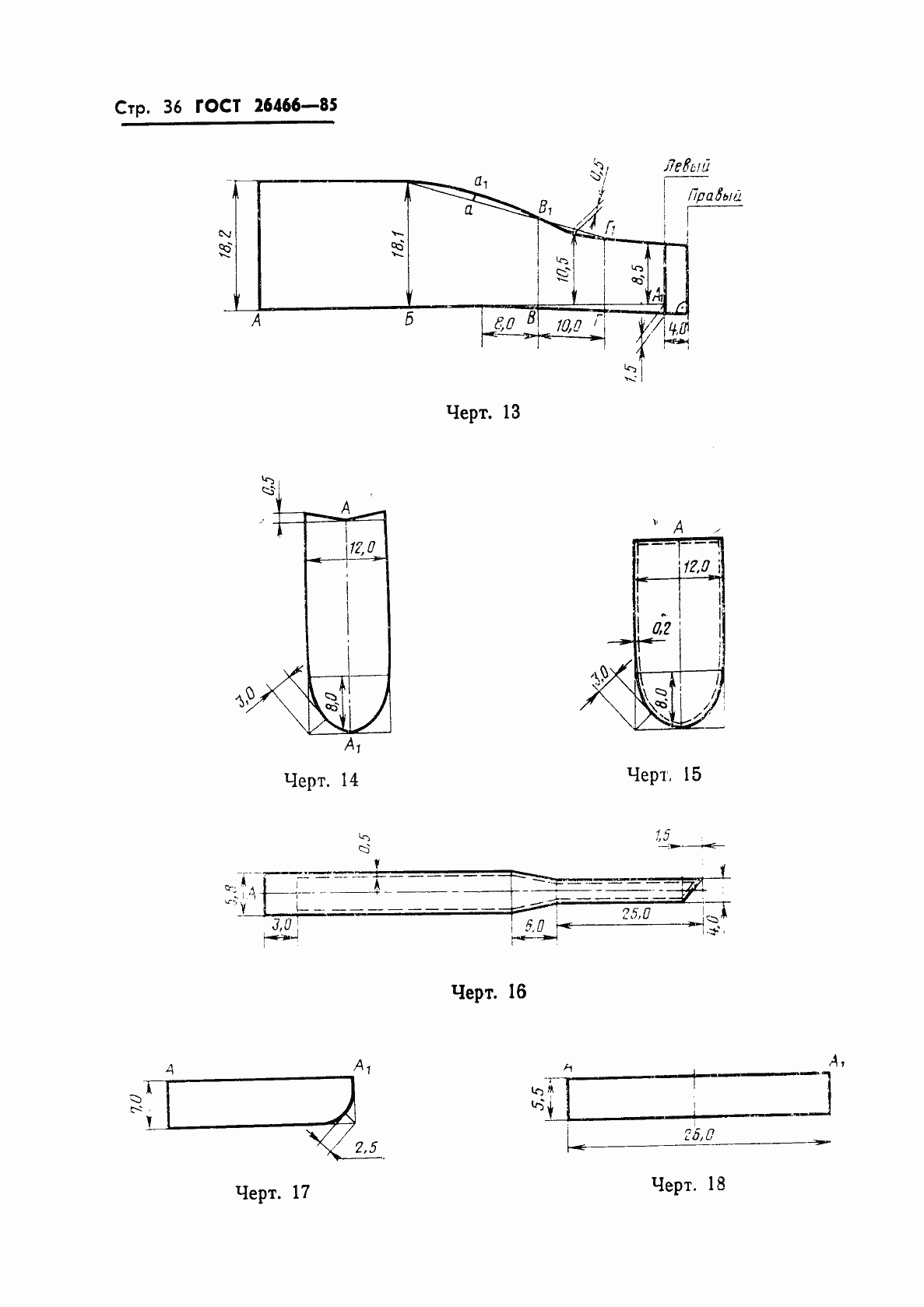
Настоящий стандарт распространяется на зимний костюм из шубной овчины с пленочным покрытием, состоящий из куртки и брюк, предназначенный в качестве спецодежды для личного состава Военно-Морского Флота
Связи и замены
Заменяющий:
-
Изменения и переиздания
Список изменений:
№1 от (рег. ) «Срок действия продлен»
Описание стандарта
ГОСТ 26466-85 Костюм специальный меховой для военнослужащих Военно-Морского Флота. Технические условия
Страницы стандарта





















































