ГОСТ 26707-85 Костюм специальный с меховым утеплителем для военнослужащих. Технические условия
ГОСТ
Скачать ГОСТ в PDF или DOC бесплатно
Основная информация
Обозначение:
ГОСТ 26707-85
Статус:
Действует
Тип:
ГОСТ
Название русское:
Костюм специальный с меховым утеплителем для военнослужащих. Технические условия
Название английское:
Special army cloth underlined with fur. Specifications
Даты и сроки
Дата издания:
05-14-86
Дата введения в действие:
01-01-87
Дата завершения срока действия:
-
Применение и описание
Область и условия применения:
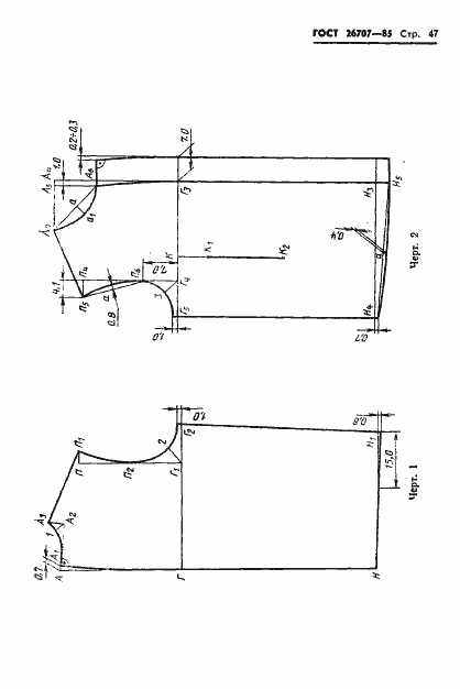
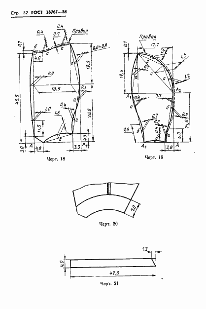
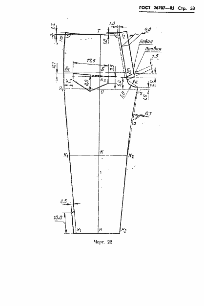
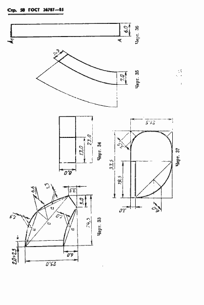
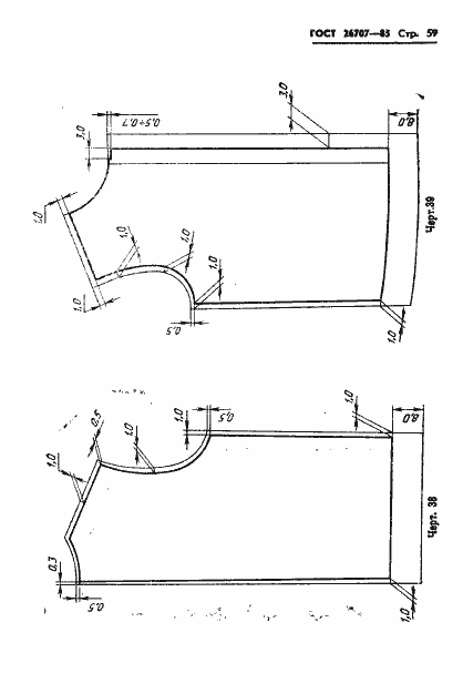
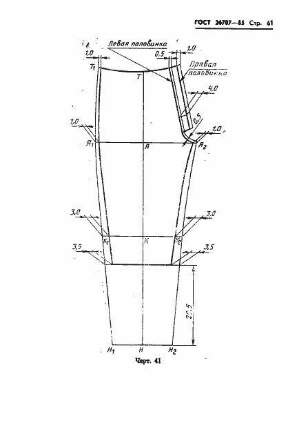
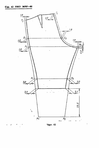
Настоящий стандарт распространяется на зимний костям со съемной меховой подкладкой - куртка, брюки и капюшон, предназначенный в качестве спецодежды для военнослужащих Советской Армии и Министерства внутренних дел СССР
Связи и замены
Заменяющий:
-
Изменения и переиздания
Список изменений:
№1 от (рег. ) «Поправка» №2 от (рег. ) «Срок действия продлен»
Описание стандарта
ГОСТ 26707-85 Костюм специальный с меховым утеплителем для военнослужащих. Технические условия
Страницы стандарта






























































































