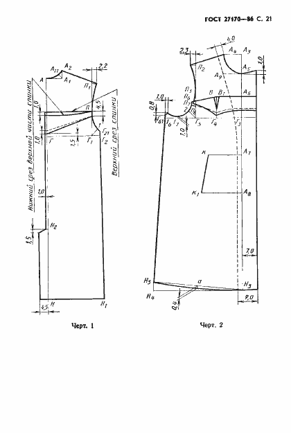
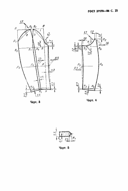
ГОСТ 27170-86 Плащ для военнослужащих женщин. Технические условия
ГОСТ
Скачать ГОСТ в PDF или DOC бесплатно
Основная информация
Обозначение:
ГОСТ 27170-86
Статус:
Действует
Тип:
ГОСТ
Название русское:
Плащ для военнослужащих женщин. Технические условия
Название английское:
Cloaks for service women. Specifications
Даты и сроки
Дата издания:
03-19-87
Дата введения в действие:
06-30-88
Дата завершения срока действия:
-
Применение и описание
Область и условия применения:
Настоящий стандарт распространяется на плащи для женщин - военнослужащих СА, ВМФ и МВД СССР
Связи и замены
Заменяющий:
-
Описание стандарта
ГОСТ 27170-86 Плащ для военнослужащих женщин. Технические условия
Страницы стандарта





























