ГОСТ 27216-87 Костюм специальный для военнослужащих комендантских частей. Технические условия
ГОСТ
Скачать ГОСТ в PDF или DOC бесплатно
Основная информация
Обозначение:
ГОСТ 27216-87
Статус:
Действует
Тип:
ГОСТ
Название русское:
Костюм специальный для военнослужащих комендантских частей. Технические условия
Название английское:
Special army clothes for commandant units. Specifications
Даты и сроки
Дата издания:
06-08-87
Дата введения в действие:
06-30-88
Дата завершения срока действия:
-
Применение и описание
Область и условия применения:
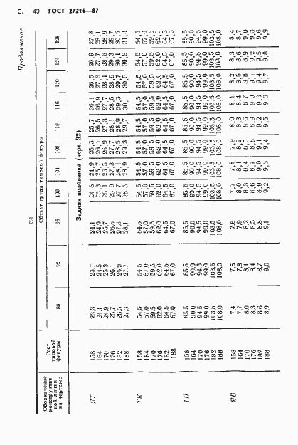
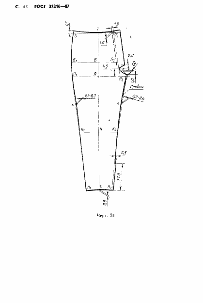
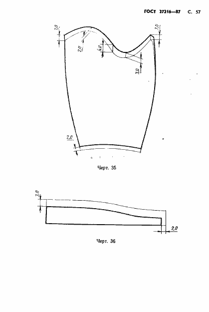
Настоящий стандарт распространяется на утепленные костюмы, предназначенные в качестве специальной одежды для военнослужащих комендантских частей
Связи и замены
Заменяющий:
-
Описание стандарта
ГОСТ 27216-87 Костюм специальный для военнослужащих комендантских частей. Технические условия
Страницы стандарта





























































