ГОСТ 27419-87 Рубашки форменные женские. Технические условия
ГОСТ
Скачать ГОСТ в PDF или DOC бесплатно
Основная информация
Обозначение:
ГОСТ 27419-87
Статус:
Действует
Тип:
ГОСТ
Название русское:
Рубашки форменные женские. Технические условия
Название английское:
Women`s uniform shirts. Specifications
Даты и сроки
Дата издания:
01-04-88
Дата введения в действие:
01-01-89
Дата завершения срока действия:
-
Применение и описание
Область и условия применения:
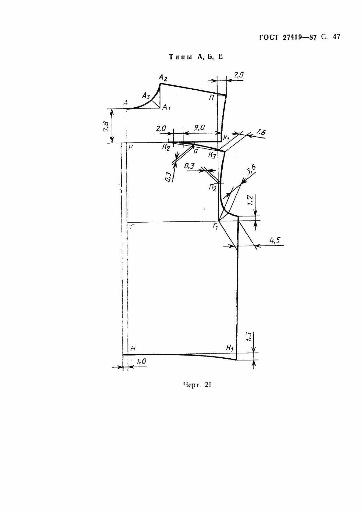
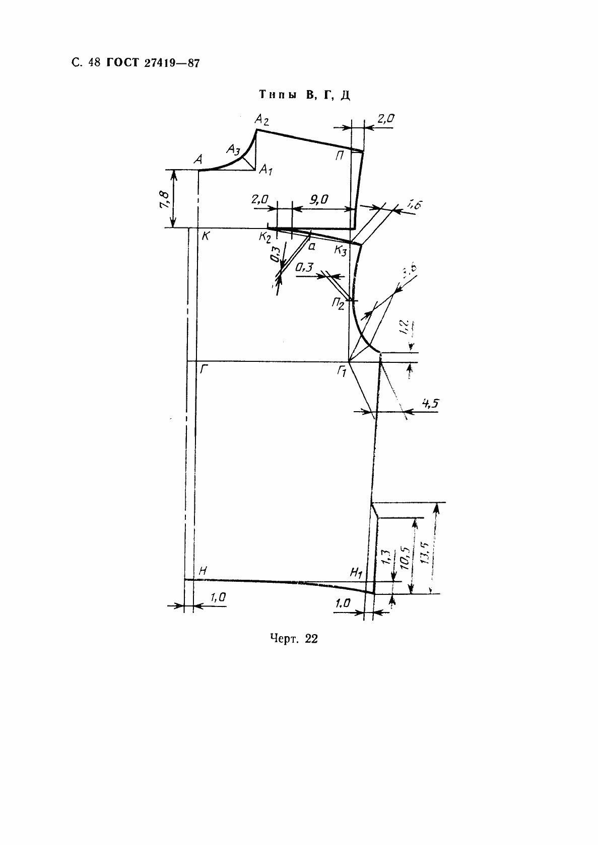
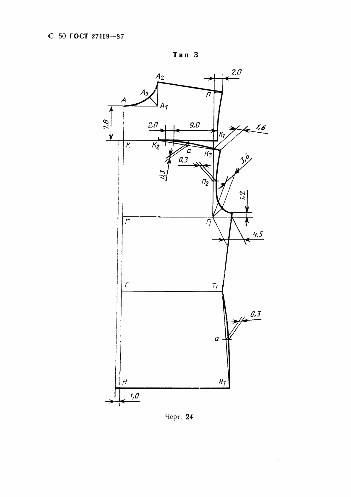
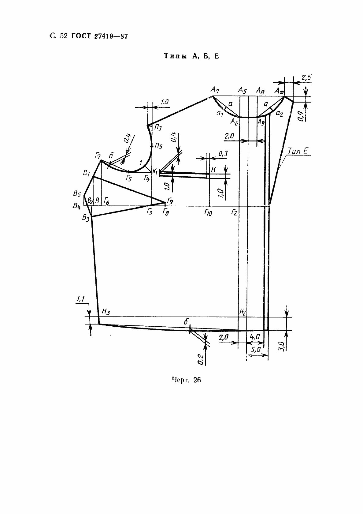
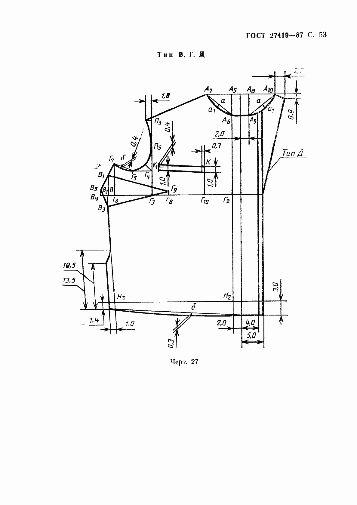
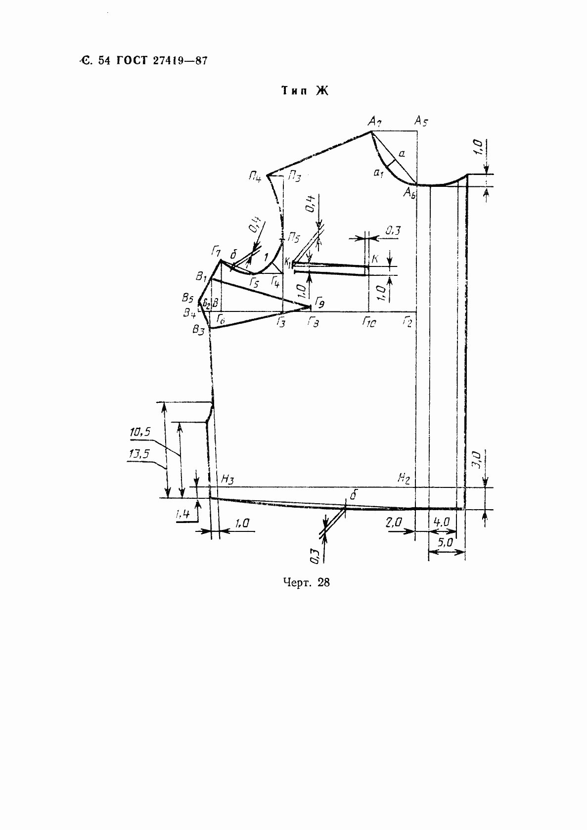
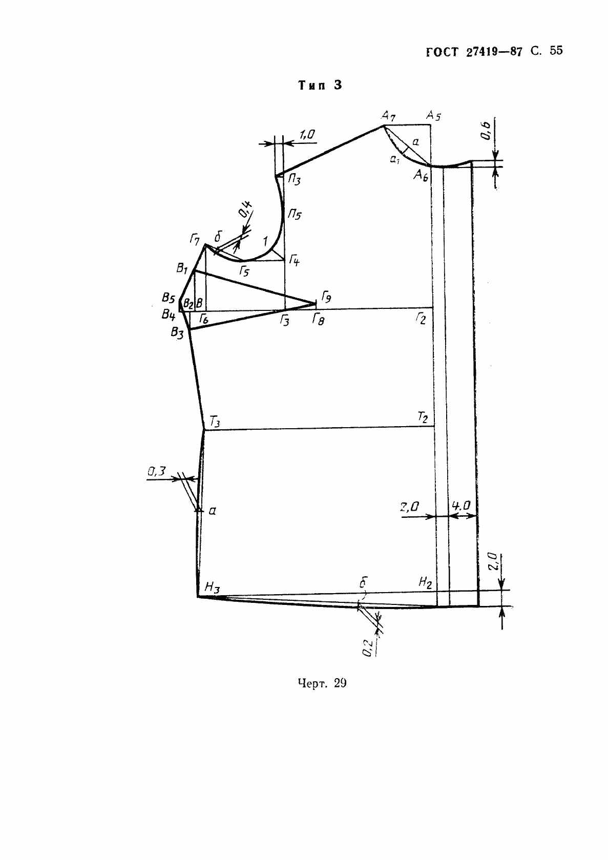
Настоящий стандарт распространяется на рубашки (блузки) форменные для военнослужащих - женщин Советской Армии, Военно-Морского Флота, Комитета Государственной безопасности СССР и внутренних войск, начальствующего и рядового состава внутренней службы и милиции, рабочих и служащих Советской Армии и Военно-Морского Флота, начальствующего состава ведомственной военизированной и профессиональной пожарной охраны
Связи и замены
Заменяющий:
-
Описание стандарта
ГОСТ 27419-87 Рубашки форменные женские. Технические условия
Страницы стандарта









































































