ГОСТ 27527-87 Костюмы для военнослужащих военно-морского флота в районах с жарким климатом. Технические условия
ГОСТ
Скачать ГОСТ в PDF или DOC бесплатно
Основная информация
Обозначение:
ГОСТ 27527-87
Статус:
Действует
Тип:
ГОСТ
Название русское:
Костюмы для военнослужащих военно-морского флота в районах с жарким климатом. Технические условия
Название английское:
Navy military men`s uniform intended for hot climatic regions. Specifications
Даты и сроки
Дата издания:
03-23-88
Дата введения в действие:
01-01-89
Дата завершения срока действия:
-
Применение и описание
Область и условия применения:
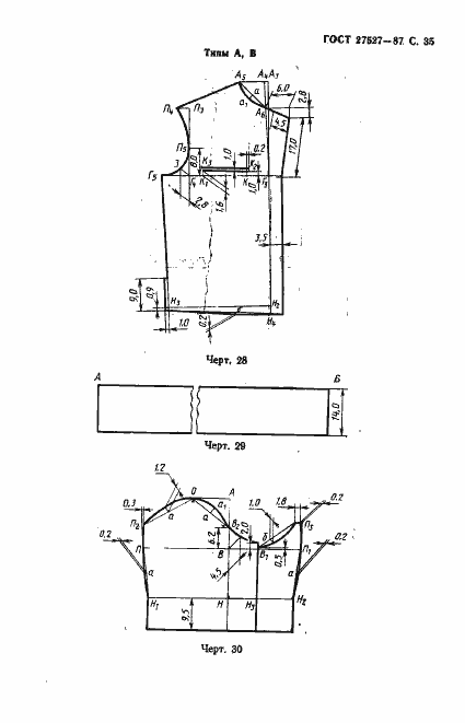
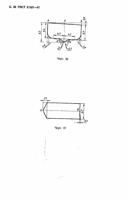
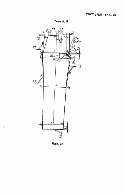
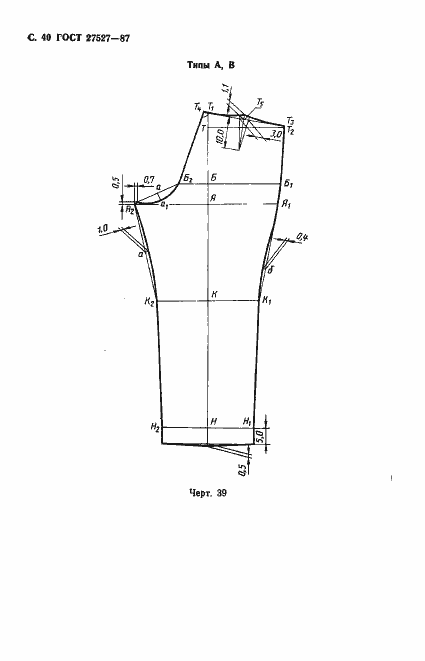
Настоящий стандарт распространяется на костюмы из хлопчатобумажной ткани, предназначенные для военнослужащих Военно-Морского Флота при плавании и несения береговой службы в районах с жарким климатом
Связи и замены
Заменяющий:
-
Описание стандарта
ГОСТ 27527-87 Костюмы для военнослужащих военно-морского флота в районах с жарким климатом. Технические условия
Страницы стандарта















































