ГОСТ 27620-88 Брюки прямого покроя для военнослужащих срочной службы. Технические условия
ГОСТ
Скачать ГОСТ в PDF или DOC бесплатно
Основная информация
Обозначение:
ГОСТ 27620-88
Статус:
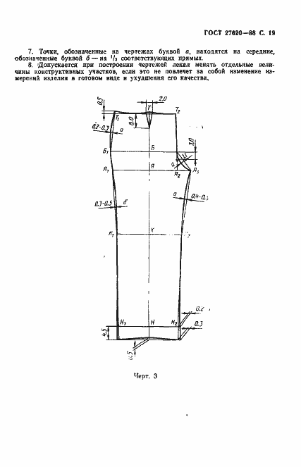
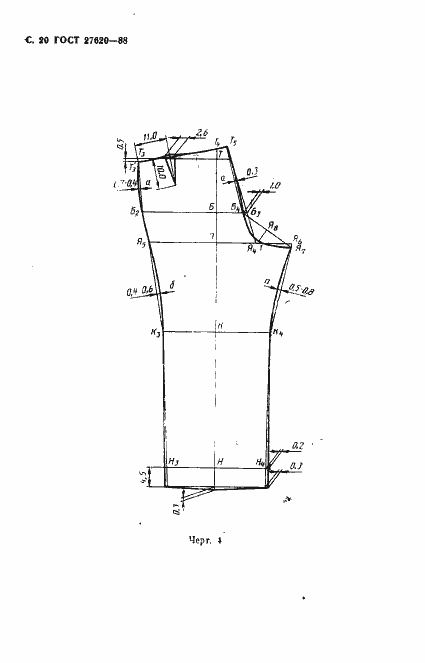
Действует
Тип:
ГОСТ
Название русское:
Брюки прямого покроя для военнослужащих срочной службы. Технические условия
Название английское:
Trousers of straight cut for military men of urgent service. Specifications
Даты и сроки
Дата издания:
06-06-88
Дата введения в действие:
06-30-89
Дата завершения срока действия:
-
Применение и описание
Область и условия применения:
Настоящий стандарт распространяется на форменные брюки прямого покроя для военнослужащих срочной службы и курсантов военных училищ Советской Армии, Комитета государственной безопасности СССР и Министерства внутренних дел СССР
Связи и замены
Заменяющий:
-
Описание стандарта
ГОСТ 27620-88 Брюки прямого покроя для военнослужащих срочной службы. Технические условия
Страницы стандарта




























