ГОСТ 28474-90 Брюки форменные навыпуск для военнослужащих. Технические условия
ГОСТ
Скачать ГОСТ в PDF или DOC бесплатно
Основная информация
Обозначение:
ГОСТ 28474-90
Статус:
Действует
Тип:
ГОСТ
Название русское:
Брюки форменные навыпуск для военнослужащих. Технические условия
Название английское:
Uniform straight trousers for military men. Specifications
Даты и сроки
Дата издания:
02-01-06
Дата введения в действие:
06-30-91
Дата завершения срока действия:
-
Применение и описание
Область и условия применения:
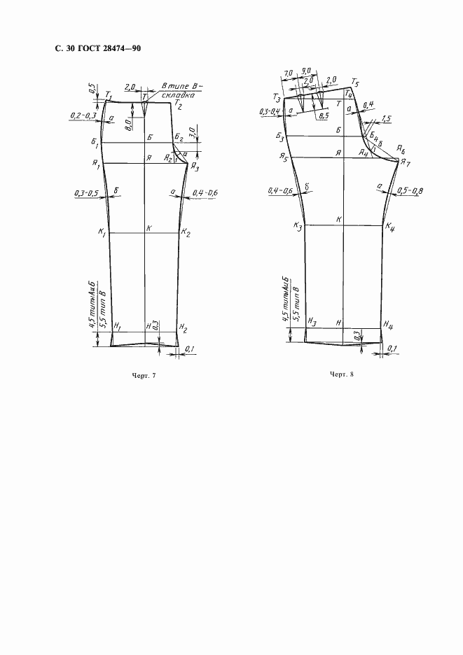
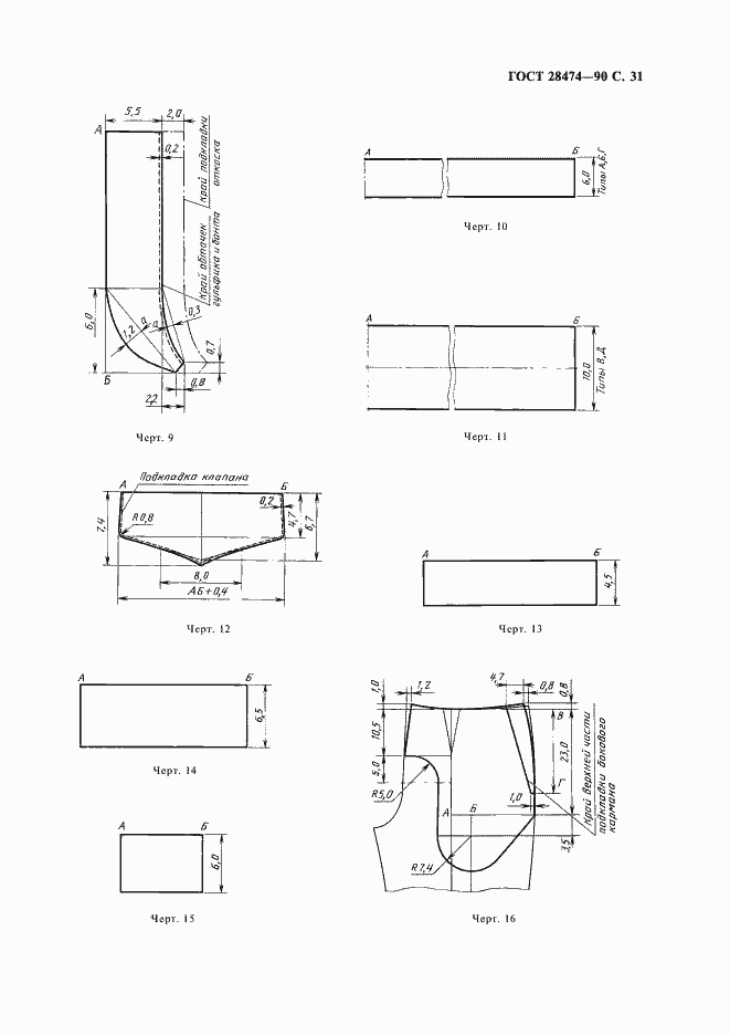
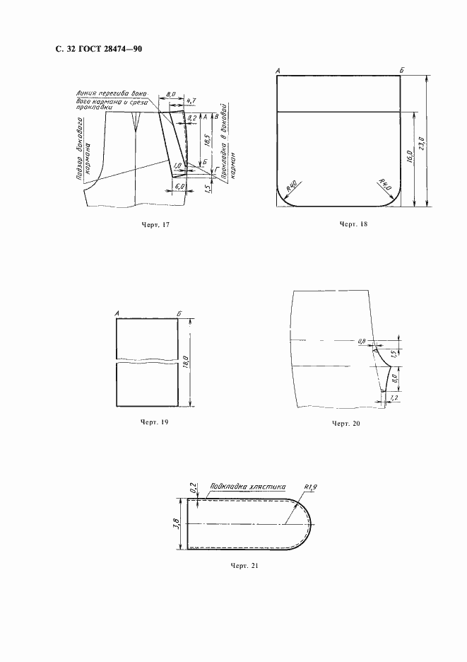
Настоящий стандарт распространяется на форменные брюки навыпуск из шерстяной и хлопчатобумажной ткани для военнослужащих Советской Армии, Военно-Морского Флота, Комитета государственной безопасности СССР и Министерства внутренних дел СССР
Связи и замены
Заменяющий:
-
Описание стандарта
ГОСТ 28474-90 Брюки форменные навыпуск для военнослужащих. Технические условия
Страницы стандарта








































