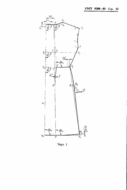
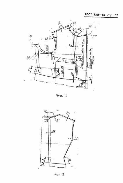
ГОСТ 9208-85 Одежда форменная. Шинели однобортные для военнослужащих. Технические условия
ГОСТ
Скачать ГОСТ в PDF или DOC бесплатно
Основная информация
Обозначение:
ГОСТ 9208-85
Статус:
Действует
Тип:
ГОСТ
Название русское:
Одежда форменная. Шинели однобортные для военнослужащих. Технические условия
Название английское:
Uniform. Woven cloth single-breasted greatcoats for servicemen. Specifications
Даты и сроки
Дата издания:
06-10-85
Дата введения в действие:
01-01-87
Дата завершения срока действия:
-
Применение и описание
Область и условия применения:
Настоящий стандарт распространяется на однобортные шинели для военнослужащих
Связи и замены
Заменяющий:
-
Взамен:
ГОСТ 9208-72
Изменения и переиздания
Список изменений:
№1 от (рег. ) «Срок действия продлен»
Описание стандарта
ГОСТ 9208-85 Одежда форменная. Шинели однобортные для военнослужащих. Технические условия
Страницы стандарта



































































