ГОСТ 16980-82 Фуражки форменные. Технические условия
ГОСТ
Скачать ГОСТ в PDF или DOC бесплатно
Основная информация
Обозначение:
ГОСТ 16980-82
Статус:
Действует
Тип:
ГОСТ
Название русское:
Фуражки форменные. Технические условия
Название английское:
Uniform caps. Specifications
Даты и сроки
Дата издания:
03-01-01
Дата введения в действие:
01-01-83
Дата завершения срока действия:
-
Применение и описание
Область и условия применения:
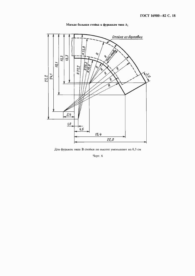
Настоящий стандарт распространяется на форменные фуражки для военнослужащих Вооруженных Сил СССР, сотрудников органов МВД, КГБ и вспомогательного флота ВМФ
Связи и замены
Заменяющий:
-
Взамен:
ГОСТ 16980-71
Изменения и переиздания
Список изменений:
№1 от (рег. ) «Срок действия продлен»
Описание стандарта
ГОСТ 16980-82 Фуражки форменные. Технические условия
Страницы стандарта



























