ГОСТ 13586.2-81 Зерно. Методы определения содержания сорной, зерновой, особо учитываемой примесей, мелких зерен и крупности
ГОСТ
Скачать ГОСТ в PDF или DOC бесплатно
Основная информация
Обозначение:
ГОСТ 13586.2-81
Статус:
Заменен
Тип:
ГОСТ
Название русское:
Зерно. Методы определения содержания сорной, зерновой, особо учитываемой примесей, мелких зерен и крупности
Название английское:
Grain. Methods for determination of foreign grain and specially counted foreigen matter, small grains and grain size
Даты и сроки
Дата издания:
01-01-82
Дата введения в действие:
06-30-82
Дата завершения срока действия:
07-01-98
Применение и описание
Область и условия применения:
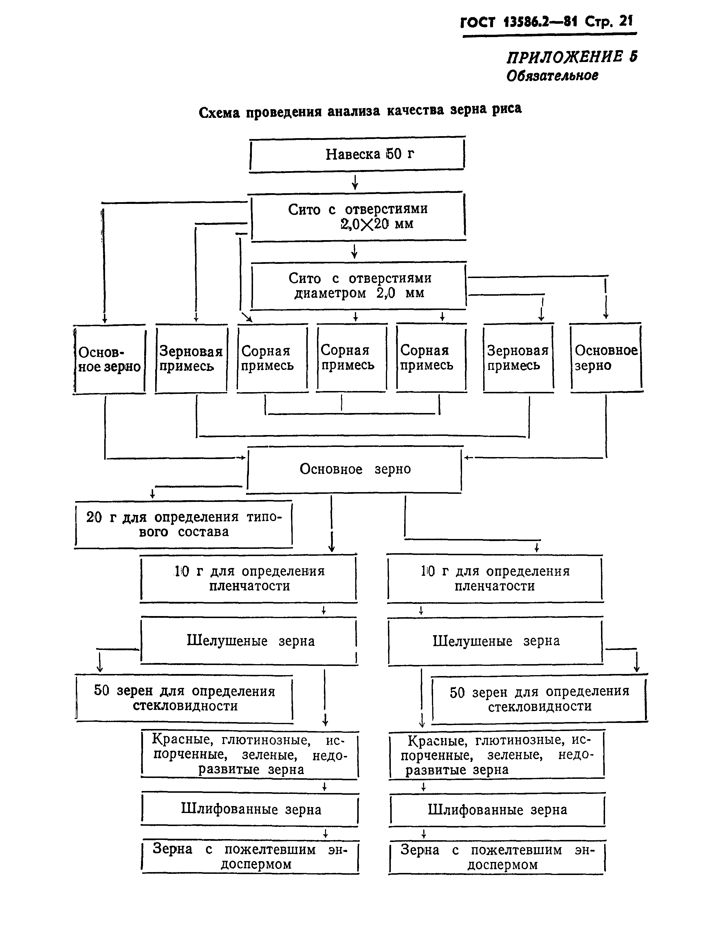
Настоящий стандарт распространяется на зерно, а также семена бобовых культур, предназначенные для продовольственных, кормовых и технических целей, и устанавливает методы определения: сорной и зерновой примесей, в том числе испорченных и поврежденных зерен, вредной и особо учитываемой примесей; мелких зерен; крупности; зерен риса с красными плодовыми и семенными оболочками (красных), глютинозных и зерен с пожелтевшим эндоспермом (пожелтевших)
Связи и замены
Заменяющий:
ГОСТ 30483-97
Взамен:
ГОСТ 10939-64;ГОСТ 10986-64;ГОСТ 11091-64
Изменения и переиздания
Список изменений:
№1 от (рег. ) «Срок действия продлен»
Описание стандарта
ГОСТ 13586.2-81 Зерно. Методы определения содержания сорной, зерновой, особо учитываемой примесей, мелких зерен и крупности
Страницы стандарта































