ГОСТ 19777-74 Пальцы режущих аппаратов сельскохозяйственных машин. Технические условия
ГОСТ
Скачать ГОСТ в PDF или DOC бесплатно
Основная информация
Обозначение:
ГОСТ 19777-74
Статус:
Действует
Тип:
ГОСТ
Название русское:
Пальцы режущих аппаратов сельскохозяйственных машин. Технические условия
Название английское:
Fingers for cutter bars of agricultural machines. Specification
Даты и сроки
Дата издания:
08-01-85
Дата введения в действие:
01-01-75
Дата завершения срока действия:
-
Применение и описание
Область и условия применения:
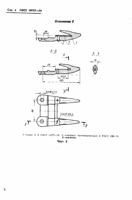
Настоящий стандарт распространяется на пальцы режущих аппаратов сельскохозяйственных машин. Стандарт не распространяется на пальцы для малогабаритной техники
Связи и замены
Заменяющий:
-
Изменения и переиздания
Список изменений:
№1 от (рег. ) «Срок действия продлен» №2 от (рег. ) «Срок действия продлен» №3 от (рег. ) «Срок действия продлен» №4 от (рег. ) «Срок действия продлен» №5 от (рег. ) «Срок действия продлен»
Описание стандарта
ГОСТ 19777-74 Пальцы режущих аппаратов сельскохозяйственных машин. Технические условия
Страницы стандарта


















