ГОСТ 23707-95 Инструмент мелкий для обработки почвы. Технические условия
ГОСТ
Скачать ГОСТ в PDF или DOC бесплатно
Основная информация
Обозначение:
ГОСТ 23707-95
Статус:
Действует
Тип:
ГОСТ
Название русское:
Инструмент мелкий для обработки почвы. Технические условия
Название английское:
Small tools for cultivation of ground. Specifications
Даты и сроки
Дата регистрации:
04-26-95
Дата издания:
10-23-95
Дата введения в действие:
06-30-96
Дата завершения срока действия:
-
Применение и описание
Область и условия применения:
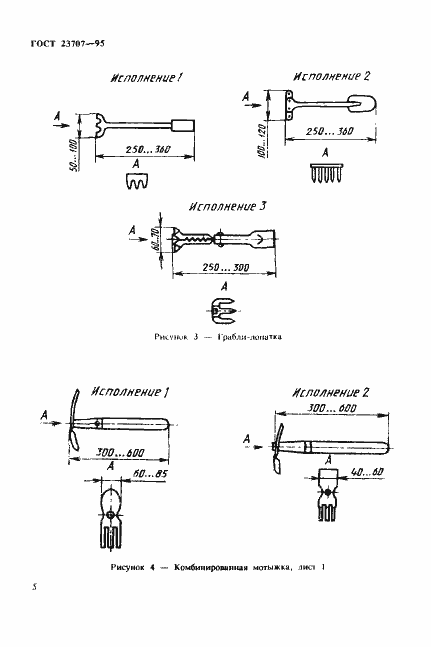
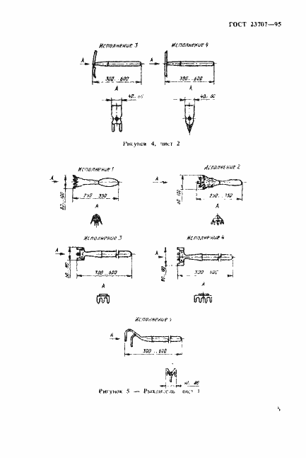
Настоящий стандарт распространяется на инструмент мелкий: комбинированные мотыжки, мотыжки, рыхлители, посадочные совки и вилки, грабли-лопатки, комбинированные рыхлители, бороздовички, предназначенный для обработки легких и средних почв
Связи и замены
Заменяющий:
-
Взамен:
ГОСТ 23707-79
Описание стандарта
ГОСТ 23707-95 Инструмент мелкий для обработки почвы. Технические условия
Страницы стандарта















