ГОСТ Р 58330.1-2018 Мелиорация. Мелиоративные системы и сооружения. Классификация
ГОСТ Р
Скачать ГОСТ в PDF или DOC бесплатно
Основная информация
Обозначение:
ГОСТ Р 58330.1-2018
Статус:
Действует
Тип:
ГОСТ Р
Название русское:
Мелиорация. Мелиоративные системы и сооружения. Классификация
Название английское:
Melioration. Reclamation systems and structures. Classification
Даты и сроки
Дата издания:
01-10-19
Дата введения в действие:
07-01-19
Дата завершения срока действия:
-
Применение и описание
Область и условия применения:
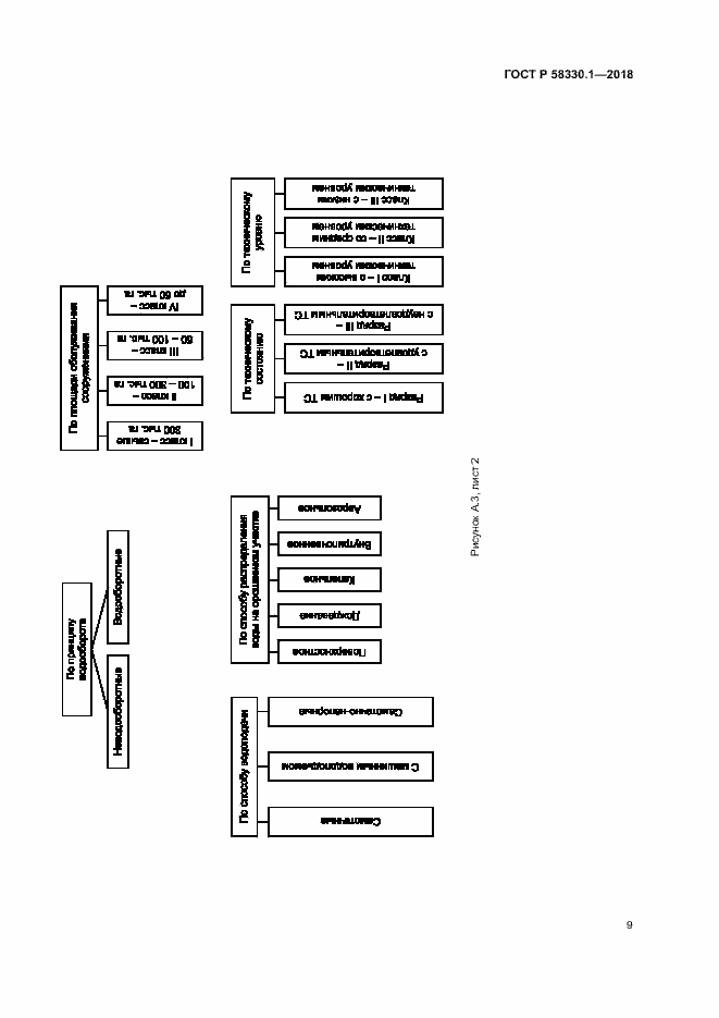
Настоящий стандарт устанавливает составные элементы и классификацию мелиоративных систем. Настоящий стандарт предназначен для применения специалистами при разработке нормативных и методических документов в области проектирования, строительства и эксплуатации на всех стадиях жизненного цикла мелиоративных систем
Связи и замены
Заменяющий:
-
Описание стандарта
ГОСТ Р 58330.1-2018 Мелиорация. Мелиоративные системы и сооружения. Классификация
Страницы стандарта














