ГОСТ EN 1237-2013 Удобрения. Метод определения насыпной плотности (после уплотнения)
ГОСТ ЕН
Скачать ГОСТ в PDF или DOC бесплатно
Основная информация
Обозначение:
ГОСТ EN 1237-2013
Статус:
Действует
Тип:
ГОСТ ЕН
Название русское:
Удобрения. Метод определения насыпной плотности (после уплотнения)
Название английское:
Fertilizers. Method for determination of bulk density (tapped)
Даты и сроки
Дата регистрации:
11-14-13
Дата издания:
09-10-20
Дата введения в действие:
01-01-15
Дата завершения срока действия:
-
Применение и описание
Область и условия применения:
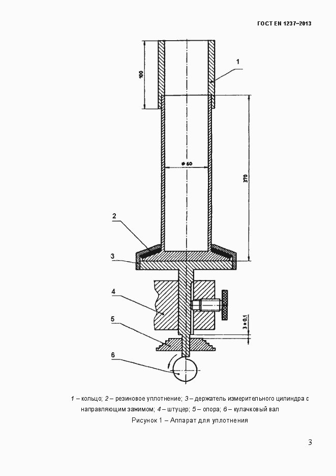
Настоящий стандарт устанавливает метод определения насыпной плотности после уплотнения твердых удобрений, кроме порошкообразных удобрений. Этот метод применим к сыпучим удобрениям. Настоящий метод не подходит к материалам, которые содержат по массе более 20 % частиц, превышающих в размере 5 мм
Связи и замены
Заменяющий:
-
Описание стандарта
ГОСТ EN 1237-2013 Удобрения. Метод определения насыпной плотности (после уплотнения)
Страницы стандарта













