ГОСТ 28758-97 Комбикорма гранулированные для рыб. Методы определения водостойкости
ГОСТ
Скачать ГОСТ в PDF или DOC бесплатно
Основная информация
Обозначение:
ГОСТ 28758-97
Статус:
Действует
Тип:
ГОСТ
Название русское:
Комбикорма гранулированные для рыб. Методы определения водостойкости
Название английское:
Granular mixed fodders for fish. Methods for determination of water-proofness
Даты и сроки
Дата регистрации:
04-28-97
Дата издания:
01-01-02
Дата введения в действие:
01-01-00
Дата завершения срока действия:
-
Применение и описание
Область и условия применения:
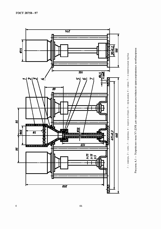
Настоящий стандарт распространяется на грнулированные комбикорма для рыб и устанавливает методы определения водостойкости гранул с применением прибора марки У1-ДОВ и устройства УЗ-ДУВ. Сущность методов заключается в определении времени, в течение которого происходит разрушение гранул и потеря ими от 5 до 25 процентов своей массы под действием колеблющейся воды температурой 18-20 градусов С
Связи и замены
Заменяющий:
-
Взамен:
ГОСТ 28758-90
Описание стандарта
ГОСТ 28758-97 Комбикорма гранулированные для рыб. Методы определения водостойкости
Страницы стандарта






