ГОСТ 22163-76 Рис. Метод определения плотности
ГОСТ
Скачать ГОСТ в PDF или DOC бесплатно
Основная информация
Обозначение:
ГОСТ 22163-76
Статус:
Действует
Тип:
ГОСТ
Название русское:
Рис. Метод определения плотности
Название английское:
Rice. Method of determination of density
Даты и сроки
Дата издания:
01-01-80
Дата введения в действие:
06-30-77
Дата завершения срока действия:
-
Применение и описание
Область и условия применения:
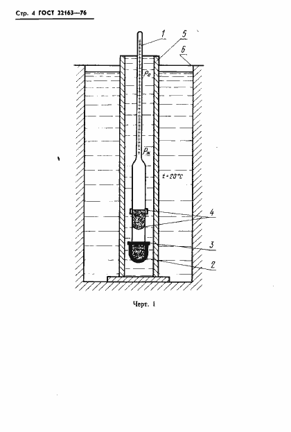
Настоящий стандарт распространяется на зерно риса и устанавливает метод определения его плотности
Связи и замены
Заменяющий:
-
Изменения и переиздания
Список изменений:
№0 от (рег. ) «Срок действия продлен»
Описание стандарта
ГОСТ 22163-76 Рис. Метод определения плотности
Страницы стандарта




